Hei Distributor Chevy 350 Firing Order Hei – Did you realize that the 5.3 and 5.7 engine of the LS have differing firing orders? This article will help you understand the meaning of these numbers and how to change them on your vehicle. If you’re in search of more information about this, then you can check on our Chevrolet Firing Order Guide. It will help you alter the timing of your engine in order to obtain the maximum amount of horsepower. Below are examples of Chevy 5.3 as well as 5.7 firing orders:
What you need to Know about Hei Distributor Chevy 350 Firing Order Hei
You need to know the 5.3 LS Chevrolet firing order. This 5.3 LS engine is the third generation of the Small Block Series. It is also known as the Vortec 5300. It reigned from 1999 to 2007.
The order of firing for the LS engine is optimal due to a variety of reasons. Any change to it will not result in optimal performance. Also, doing it incorrectly could damage the pistons and the crankshaft. So, it is recommended to consult an expert mechanic to perform the procedure. Another reason for incorrect firing procedure is Chevy 5.3 wiring. It is important to ensure that there are no loose connections since they can influence the firing order.
Details about Hei Distributor Chevy 350 Firing Order Hei
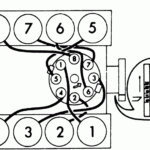
There are many reasons why you should understand the 5.7 Ls firing order for a Chevy. Of them, are the LS1 to LS7 engines’ unique firing order. LS1 to LS7 engines operate at 1-8-7-2-6-5-4-3. The BBC firing sequence is identical to the one that is used in 5.3L engines, and it is different from the one employed on other Chevy models that have the small-block Chevy engine. It is a sign that when the piston is at Top Dead Center, the distributor’s rotating rotor must be aligned with the number one ignition plug’s terminal, which is on the cap on the distributor.
The LS engine represents an upgrade of original LS1 which first debuted in 1997. It was able to retain the small-block’s 4.40-inch bore spacing as well as the Gen I bellhousing bolt pattern however it was a new animal. As a result, GM took the decision to change the firing process, and the LS1 will now have a 1-8-7-2-6-5-4-3 firing order.
Download Hei Distributor Chevy 350 Firing Order Hei
You have probably heard about the different firing orders for the 5.3 engines. engine and you are interested in the way each cylinder operates in a Chevy. In the Chevy 5.3 engine follows a series of firings that are criss-crossed. The firing order is vital in that it decides when and in which direction the pistons begin to fire. The wrong firing order could result in engine problems or cause valves to open prematurely.
The 5.3 LS Engine was part of the Gen III Small Block series. It was also referred to under the designation Vortec 5300. It was a powerful engine that ran from 1999 until 2007 in Chevrolet vehicles. The firing sequence of this engine is similar to the other LS engines. In this case, cylinders 1-6-7 are located on the left side of the driver’s seat, while cylinders 2 – 4-8-8 are located on the side of the passenger.





