What Is The Firing Order On A Chevy 350 Motor – Did you know that the 5.3 and 5.7 Ls engines have distinct firing orders? This article will help you understand the meaning behind these numbers and what you can do to change them in your vehicle. If you’re looking for more information, think about checking in our Chevrolet Firing Order Guide. You’ll learn how to properly modify your engine’s timing in order to get the maximum amount of horsepower. Here are a few examples of the Chevy 5.3 as well as 5.7 firing sequences:
What you need to Know about What Is The Firing Order On A Chevy 350 Motor
It is important to know the 5.3 LS Chevrolet firing order. The 5.3 LS engine is the third generation of the Small Block Series. It’s often referred to as the Vortec 5300. It was in operation from 1999 until 2007.
The order of firing of the LS engine is the best for many reasons. It is not a good idea to alter it, as it can give you the optimal performance. Additionally, changing it incorrectly may cause damage to the pistons or the crankshaft. Therefore, it is always recommended to consult with a qualified mechanic in order to change it. Another factor that can cause an error in firing orders is Chevy 5.3 wiring. It is important to ensure that there aren’t any loose connections as they could alter the firing sequence.
Details about What Is The Firing Order On A Chevy 350 Motor
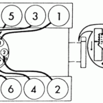
There are numerous reasons to learn about the 5.7″ls” firing order on the Chevy. The most important of these is the LS1 to LS7 engines’ unique firing order. LS1 to LS7 engines are fired at 1-8-7-2-6-5-4-3. The BBC firing sequence is similar to the one that is used in 5.3L engines, and it differs from the one utilized on other Chevy vehicles that feature the small-block Chevy engine. That means that when the piston reaches Top Dead Center, the distributor’s rotor will align with the number one spark plug’s terminal in the cap for the distributor.
The LS engine can be described as an improvement of the original LS1 which first came into use in 1997. It kept the small-block’s 4.40-inch bore spacing and the Gen I bellhousing bolt pattern however it was a modernized beast. Because of this evolution, GM decided to modify the firing procedure, and the LS1 currently has a 1-8-7-2-6-5-4-3 firing order.
Download What Is The Firing Order On A Chevy 350 Motor
You’ve probably heard about the various firing patterns for the 5.3 the ls engine and are curious about the way each cylinder operates in a Chevy. It is believed that the Chevy 5.3 engine follows a fire sequence that is criss-cross. The order of firing is important as it determines the timing and where the pistons will go into action. Unintentional firing orders can lead to engine problems and even cause valves to be opened too early.
The 5.3 LS Engine was part of the Gen III Small Block series. It was also referred to in the form of Vortec 5300. It was a formidable powerplant and reigned from 1999 to 2007 in Chevrolet automobiles. The firing sequence for this engine follows the same pattern as other LS engines. For instance, cylinders 1-5-7 are on the driver’s side while cylinders 2-4-6-8 sit on the passenger’s side.





