What Is The Firing Order Of A Chevy 350 – Did you have the knowledge that the 5.3 and 5.7 ls engines have different firing order? This article will help you understand the meaning of these numbers and how to change them on your vehicle. If you are looking for additional information, make sure to check through our Chevrolet Firing Order Guide. You’ll learn how to properly alter your engine’s timing to receive the highest amount of horsepower. Below are some examples of Chevy 5.3 as well as 5.7 firing sequences:
What you need to Know about What Is The Firing Order Of A Chevy 350
You must be aware of the 5.3 LS Chevrolet firing order. It is the 5.3 LS engine is the third generation of the Small Block Series. It is often referred to as the Vortec 5300. The Vortec 5300 was operational from 1999 until 2007.
The order of firing for the LS engine is the best due to a variety of reasons. Changing it will not bring about optimal performance. Additionally, changing it incorrectly could result in damage to the pistons, or the crankshaft. Thus, it is recommended to seek expert mechanics when making a change. Another reason for an incorrect firing or firing order could be Chevy 5.3 wiring. You should make sure that there are no loose connections because these can have an impact on the firing order.
Details about What Is The Firing Order Of A Chevy 350
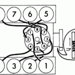
There are numerous reasons to understand the 5.7″LS” firing order that is found on the Chevy. Included in them is LS1 to LS7 engines’ distinctive firing order. LS1 up to LS7 engines operate at 1-8-7-2-6-5-4-3. The BBC firing sequence is identical with the firing order used in 5.3L engines, and it is different from the one used in other Chevy models that have small-block Chevy engine. It is a sign that when the piston reaches Top Dead Center, the distributor’s rotation should be in alignment with the number one ignition plug’s terminal, which is on the cap for the distributor.
This LS engine will be an update of LS1 that first appeared in 1997. It was built with the small block’s 4.40-inch bore spacing as well as the Gen I bellhousing bolt pattern however it was a new creature. As a result of this development, GM decided to modify the firing procedure, and the LS1 will now have a 1-8-7-2-6-5-4-3 firing order.
Download What Is The Firing Order Of A Chevy 350
You’ve probably heard about the different firing options for the 5.3 Ls engine which is why you’re interested in how each cylinder fires in the Chevy. The Chevy 5.3 engine follows a circular firing sequence. The order of firing is crucial since it determines the time or where the pistons begin to fire. The wrong firing order could cause engine malfunctions, and could cause valves to open prematurely.
The 5.3 LS Engine was part of the Gen III Small Block series. It was also known as Vortec 5300. It was a superb powerplant that ran from 1999 until 2007 in Chevrolet vehicles. The firing sequence of this engine is similar to that of other LS engines. For instance, cylinders 1-5-7 are on the right side of the vehicle, while cylinders 2-4-6-8 are on the passenger’s side.





