What Is The Firing Order For A 1988 Chevy 350 – Did you realize that the 5.3 and 5.7 engines of the LS have different firing orders? This article will explain the meaning of these numbers and how to change them on your vehicle. If you’re looking for more details, try checking in our Chevrolet Firing Order Guide. You’ll learn how to properly alter the timing of your engine in order to achieve the most horsepower. Below are a few examples of Chevy 5.3 and 5.7 firing order:
What you need to Know about What Is The Firing Order For A 1988 Chevy 350
You should be aware of the 5.3 LS Chevrolet firing order. It is the 5.3 LS engine is the third generation of the Small Block Series. It is often referred to as the Vortec 5300. It was in service from 1999 till 2007.
The firing sequence of the LS engine is perfect due to a variety of reasons. Modifying it won’t yield optimal performance. Furthermore, improperly changing it could result in damage to the pistons, or the crankshaft. So, it is recommended to consult with a qualified mechanic to make the change. Another cause of incorrect firing procedure is Chevy 5.3 wiring. It is important to ensure that there aren’t any loose connections since they can influence the firing order.
Details about What Is The Firing Order For A 1988 Chevy 350
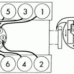
There are many reasons to understand the 5.7″LS” firing order that is found on the Chevy. Included in them is LS1 to LS7 engines’ distinct firing order. LS1 and LS7 engines run at 1-8-7-2-6-5-4-3. The BBC firing order is similar to the one used in 5.3L engines, but it differs from the one used on other Chevy vehicles that are equipped with the small-block Chevy engine. It is a sign that when the piston reaches Top Dead Center, the distributor’s rotor must align with the number one spark plug terminal on the distributor cap.
The LS engine evolved from the original LS1 that first appeared in 1997. It was built with the small block’s 4.40-inch bore spacing and the Gen I bellhousing bolt pattern however it was an entirely novel beast. Because of this evolution, GM made a decision to alter the firing sequence, and the LS1 now has a 1-8-7-2-6-5-4-3 firing sequence.
Download What Is The Firing Order For A 1988 Chevy 350
There is a good chance that you have heard about the different firing protocols for the 5.3 Ls engine and are curious about how each cylinder is fired in a Chevy. The Chevy 5.3 engine follows a sequential firing pattern that’s criss-cross. The firing order is vital since it determines the time to and from where pistons will start firing. Improper firing procedures can result in engine misfires and can even trigger valves that open in a premature manner.
The 5.3 LS Engine was part of the Gen III Small Block series. It was also referred to for its designation Vortec 5300. It was a great powerplant and was in use from 1999 to 2007 in Chevrolet automobiles. The firing order of this engine follows the same pattern as other LS engines. For instance, cylinders 1-5-7 are on the passenger’s side, while cylinders 2-4-6-8 reside on the passenger’s side.





