Firing Order On A Chevy 350 Distributor – Did you not know that the 5.3 and 5.7 engine of the LS have differing firing order? This article will explain the significance of these numbers as well as how to make them different on your vehicle. If you’re looking for more details, try checking in our Chevrolet Firing Order Guide. You’ll be taught how to alter your engine’s timing to ensure you get the maximum horsepower. Below are a few examples of the Chevy 5.3 as well as 5.7 firing order:
What you need to Know about Firing Order On A Chevy 350 Distributor
You should be aware 5.3 LS Chevrolet firing order. It is the 5.3 LS engine is the third generation of the Small Block Series. It’s also known as the Vortec 5300. It was in operation from 1999 until 2007.
The order of firing for the LS engine is optimal for a variety of reasons. The change will not result in optimal performance. If you make the wrong change, it can damage the pistons or the crankshaft. Therefore, it is always recommended to contact a specialist mechanic when making a change. Another reason that could cause a misfiring process is Chevy 5.3 wiring. Make sure there aren’t any loose connections as they could affect the firing order.
Details about Firing Order On A Chevy 350 Distributor
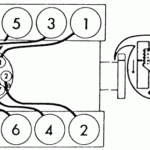
There are many reasons why you should understand the 5.7″ls” firing order on an Chevy. There are many reasons, among them the LS1 to LS7 engines’ distinctive firing order. LS1 until LS7 engines operate at 1-8-7-2-6-5-4-3. The BBC firing sequence is identical to that used in 5.3L engines, and it differs from the one used in other Chevy vehicles with small-block Chevy engine. That means that when the piston is at Top Dead Center, the distributor’s rotor will align with the number one spark plug’s connector on the cap for the distributor.
This LS engine evolves from the original LS1 that first came out in 1997. It was able to retain the small-block’s 4.40-inch bore spacing as well as the Gen I bellhousing bolt pattern, but was a completely novel beast. Because of this evolution, GM decided to modify the firing sequence, and the LS1 now comes with a 1-8-7-2-6-5-4-3 firing sequence.
Download Firing Order On A Chevy 350 Distributor
There is a good chance that you have heard about the different firing instructions for the 5.3 LS engine You are probably curious about how each cylinder fires in a Chevy. This Chevy 5.3 engine follows a sequential firing pattern that’s criss-cross. The order of firing is crucial because it determines when and where the pistons will start firing. Incorrect firing can lead to engine misfires and can even result in valves opening too early.
The 5.3 LS Engine was part of the Gen III Small Block series. It was also referred to under the designation Vortec 5300. It was a powerhouse and was used from 1999 to 2007 in Chevrolet vehicles. The firing pattern for this engine is similar to that of other LS engines. For example, cylinders 1-5-7 are on the driver’s side and cylinders 2-4-6-8 are situated on the passenger’s side.





