Firing Order On A 1992 Chevy 350 – Did you consider that the 5.3 and 5.7 Ls engines have different firing sequences? This article will help you understand the meaning of these numbers and how you can change them on your vehicle. If you’re seeking further information, be sure to check in our Chevrolet Firing Order Guide. You’ll learn how to properly adjust the timing on your engine and obtain the maximum amount of horsepower. Below are some examples of Chevy 5.3 and 5.7 firing orders:
What you need to Know about Firing Order On A 1992 Chevy 350
You should know the 5.3 LS Chevrolet firing order. The 5.3 LS engine is the third generation of the Small Block Series. It is often referred to as the Vortec 5300. It was in service from 1999 till 2007.
The firing sequence of the LS engine is the best due to a variety of reasons. Altering it will not ensure optimal performance. If you make the wrong change, it will damage the pistons as well as the crankshaft. Thus, it is recommended to seek expert mechanics in order to change it. Another reason for an incorrect firing or firing order could be Chevy 5.3 wiring. Make sure there are no loose connections since they can affect the firing order.
Details about Firing Order On A 1992 Chevy 350
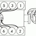
There are a number of reasons to know the 5.7 Ls firing order for the Chevy. The most important of these is the LS1 to LS7 engines’ distinct firing order. LS1 through LS7 engines are fired at 1-8-7-2-6-5-4-3. The BBC firing order is comparable to that used in 5.3L engines, but it is different from the one utilized on other Chevy automobiles that come with smaller-block Chevy engine. This means that when the piston is at Top Dead Center, the distributor’s distributor rotor is supposed to be aligned with the number one spark plug terminal located on the cap of the distributor.
This LS engine evolves from the original LS1 which first debuted in 1997. The small-block engine was retained with its 4.40-inch bore spacing and the Gen I bellhousing bolt pattern but was completely new animal. This was due to the fact that GM decided to modify the firing order. The LS1 now has a 1-8-7-2-6-5-4-3 firing sequence.
Download Firing Order On A 1992 Chevy 350
You’ve probably heard about the different firing orders for the 5.3 Ls engine and are curious as to how each cylinder fires in the Chevy. It is believed that the Chevy 5.3 engine follows a circular firing sequence. The order of firing is crucial in that it decides when it is the right time and place that pistons will start firing. Improper firing procedures can lead to engine problems or cause valves to be opened in a premature manner.
The 5.3 LS Engine was part of the Gen III Small Block series. It was also referred to in the form of Vortec 5300. It was a superb powerplant which was operational from 1999 through 2007 in Chevrolet automobiles. The firing sequence of this engine is similar to other LS engines. For example, cylinders 1-6-5-7 are on the passenger’s side, while cylinders 2-4-6-8 are on the side of the passenger.





