Firing Order On 88 Chevy 350 – Did you consider that the 5.3 and 5.7 engines of the LS have different firing orders? This article will explain what these numbers mean and how to alter them on your vehicle. If you’re seeking further information, be sure to check in our Chevrolet Firing Order Guide. It will help you modify the timing of your engine and obtain the maximum amount of horsepower. Below are some instances of Chevy 5.3 as well as 5.7 firing sequences:
What you need to Know about Firing Order On 88 Chevy 350
You should be aware of the 5.3 LS Chevrolet firing order. It is the 5.3 LS engine is the third generation of the Small Block Series. It is also known as Vortec 5300. It was in existence from 1999 to 2007.
The order of firing of the LS engine is optimal due to a variety of reasons. Any change to it will not yield optimal performance. Furthermore, improperly changing it could cause damage to the pistons or the crankshaft. It is recommended to consult an expert mechanic when making a change. Another reason for an incorrect firing sequence is Chevy 5.3 wiring. You should make sure that there are no loose connections as they could affect the firing procedure.
Details about Firing Order On 88 Chevy 350
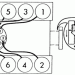
There are a number of reasons to learn about the 5.7″LS” firing order that is found on an Chevy. The most important of these is the LS1 to LS7 engines’ distinctive firing order. LS1 towards LS7 engines run at 1-8-7-2-6-5-4-3. The BBC firing order is comparable to the one that is used in 5.3L engines, but it is different from that utilized on other Chevy vehicles with a small-block Chevy engine. This means that, when the piston reaches Top Dead Center, the distributor’s distributor rotor is supposed to be aligned with the number one spark plug’s terminal on a cap for the distributor.
The LS engine represents an upgrade of LS1 which first came into use in 1997. It kept the small-block’s 4.40-inch bore spacing and the Gen I bellhousing bolt pattern however, it was a totally new beast. Due to this change, GM chose to alter the firing order. The LS1 now has a 1-7-8-7-2-6-5-4-3 firing order.
Download Firing Order On 88 Chevy 350
It is likely that you’ve heard of the different firing protocols for the 5.3 ls engine You are probably curious about the different firing patterns of each cylinder within a Chevy. It is believed that the Chevy 5.3 engine follows a series of firings that are criss-crossed. The order of firing is crucial as it determines the timing it is the right time and place that pistons start firing. The wrong firing order could cause engine issues and make the valves open in a premature manner.
The 5.3 LS Engine was part of the Gen III Small Block series. It was also referred to for its designation Vortec 5300. It was a fantastic powerplant that ran from 1999 until 2007 in Chevrolet vehicles. The firing order for this engine is similar to that of other LS engines. In this case, cylinders 1-6-7 are on the driver’s side while cylinders 2-4-6-8 reside on the side of the passenger.





