Firing Order Of A 350 Chevy Motor – Did you be aware that the 5.3 and 5.7 Ls engines have distinct firing sequences? This article will explain the meaning behind these numbers and how to adjust them on your vehicle. If you are looking for further information, be sure to check in our Chevrolet Firing Order Guide. Learn how to alter the timing of your engine in order to achieve the most horsepower. Here are a few examples of the Chevy 5.3 as well as 5.7 firing sequences:
What you need to Know about Firing Order Of A 350 Chevy Motor
The key to understanding the 5.3 LS Chevrolet firing order. It is the 5.3 LS engine is the third generation of the Small Block Series. It is often referred to as the Vortec 5300. It was in place from 1999 to 2007.
The firing sequence of the LS engine is perfect for a variety of reasons. Modifying it won’t lead to optimal performance. Furthermore, if you do it wrong, you will cause damage to the pistons as well as the crankshaft. Thus, it is advised to consult an expert mechanic when making a change. Another cause of incorrect firing sequence is Chevy 5.3 wiring. It is important to ensure that there aren’t any loose connections , as these could impact the firing order.
Details about Firing Order Of A 350 Chevy Motor
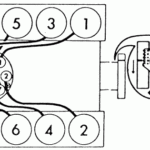
There are many reasons to know the 5.7 Ls firing order for a Chevy. One of them is the LS1 to LS7 engines’ unique firing order. LS1 to LS7 engines operate at 1-8-7-2-6-5-4-3. The BBC firing sequence is identical as the one used by 5.3L engines, but it is different from the one used in other Chevy vehicles that are equipped with small-block Chevy engine. This means that when the piston is at Top Dead Center, the distributor’s rotor must align with the number one spark plug’s terminal that is located on the cap of the distributor.
The LS engine was a reworking of the original LS1 which was introduced in 1997. It was built with the small block’s 4.40-inch bore spacing, as well as the Gen I bellhousing bolt pattern but was a novel beast. As a result of this development, GM took the decision to change the firing order. The LS1 currently has a 1-8-7-2-6-5-4-3 firing order.
Download Firing Order Of A 350 Chevy Motor
You’ve probably heard of the various firing order options for the 5.3 Ls engine which is why you’re interested in how each cylinder is fired in a Chevy. What happens in the Chevy 5.3 engine follows a circular firing sequence. The order of firing is important in determining when or where the pistons shoot. Improper firing procedures can cause engine malfunctions, and could cause valves and valves to shut prematurely.
The 5.3 LS Engine was part of the Gen III Small Block series. It was also referred to as Vortec 5300. It was a formidable powerplant and was used from 1999 to 2007 in Chevrolet automobiles. The firing order for this engine is identical to the other LS engines. For example, the cylinders 1-6-7 are on the driver’s side while cylinders 2-4-6-8 sit on the passenger’s side.





