Firing Order Of 1974 Chevy 350 – Did you know that the 5.3 and 5.7 engine of the LS have differing firing orders? This article will help you understand what these numbers mean and how you can change them on your vehicle. If you’re looking for more information, think about checking through our Chevrolet Firing Order Guide. You’ll learn how to properly adjust your engine’s timer and achieve the most horsepower. Here are some examples of the Chevy 5.3 and 5.7 firing sequences:
What you need to Know about Firing Order Of 1974 Chevy 350
You need to know the 5.3 LS Chevrolet firing order. It is the 5.3 LS engine is the third generation of the Small Block Series. It’s also known as Vortec 5300. The Vortec 5300 was operational from 1999 until 2007.
The order of firing of the LS engine is the best for a variety of reasons. Modifying it won’t result in optimal performance. Furthermore, if you do it wrong, you may cause damage to the pistons or the crankshaft. So, it is advised to consult an expert mechanic to perform the procedure. Another cause of incorrect firing sequence is Chevy 5.3 wiring. You should make sure that there aren’t any loose connections , as these could alter the firing sequence.
Details about Firing Order Of 1974 Chevy 350
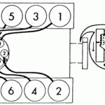
There are a number of reasons to know the 5.7 fire order of LS on a Chevy. There are many reasons, among them the LS1 to LS7 engines’ unique firing order. LS1 up to LS7 engines are fired at 1-8-7-2-6-5-4-3. The BBC firing sequence is similar to that of 5.3L engines, but it is different from the one used on other Chevy models that have small-block Chevy engine. This means that once the piston reaches Top Dead Center, the distributor’s distributor rotor is supposed to be aligned with the number one spark plug’s terminal that is located on the cap of the distributor.
The LS engine evolved from the LS1 which was introduced in 1997. It was able to retain the small-block’s 4.40-inch bore spacing and the Gen I bellhousing bolt pattern however it was a new machine. Due to this change, GM chose to alter the firing order, and the LS1 is now firing with a 1-8-7-2-6-5-4-3 firing sequence.
Download Firing Order Of 1974 Chevy 350
It is likely that you’ve heard of the various firing sequences for the 5.3 engines. engine and are curious as to the firing sequence of each cylinder in a Chevy. This Chevy 5.3 engine follows a sequential firing pattern that’s criss-cross. The order in which the firing occurs is essential in determining when you and the location where your pistons will fire. An incorrect firing sequence could lead to engine fires that are not properly controlled and may result in valves opening in a premature manner.
The 5.3 LS Engine was part of the Gen III Small Block series. It was also referred to as Vortec 5300. It was a formidable powerplant that ran from 1999 to 2007 in Chevrolet automobiles. The firing pattern for this engine is similar to that of other LS engines. In this case, cylinders 1-6-7 are located on the driver’s side and cylinders 2-4-6-8 are situated on the passenger’s side.





