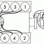
Firing Order For A Chevy 350 Diagram – Did you not know that the 5.3 and 5.7 engines of the LS have different firing sequences? This article will help you understand the meaning of these numbers and how to adjust them on your vehicle. If you’re in search of additional information, make sure to check into our Chevrolet Firing Order Guide. You’ll discover how to modify your engine’s timing in order to gain the maximum horsepower. Below are examples of Chevy 5.3 and 5.7 firing order:
What you need to Know about Firing Order For A Chevy 350 Diagram
You should be aware 5.3 LS Chevrolet firing order. This 5.3 LS engine is the third generation of the Small Block Series. It is often referred to as the Vortec 5300. It was in service from 1999 till 2007.
The order of firing of the LS engine is the best for many reasons. Changes to it won’t yield optimal performance. Furthermore, improperly changing it can damage the pistons or the crankshaft. Thus, it is recommended to consult with a qualified mechanic to make the change. Another reason for a wrong firing order is Chevy 5.3 wiring. Make sure there aren’t any loose connections as they could affect the firing procedure.
Details about Firing Order For A Chevy 350 Diagram
There are a variety of reasons to be aware of the 5.7″LS” firing order that is found on the Chevy. The most important of these is the LS1 to LS7 engines’ distinct firing order. LS1 to LS7 engines operate at 1-8-7-2-6-5-4-3. The BBC firing order is similar to the one that is used in 5.3L engines, but it differs from the one used in other Chevy automobiles that come with the small-block Chevy engine. It means that when the piston is at Top Dead Center, the distributor’s distributor rotor is supposed to be aligned with the number one spark plug’s terminal in the cap on the distributor.
Its LS engine was a reworking of the original LS1 which first came into use in 1997. The small-block engine was retained with its 4.40-inch bore spacing and the Gen I bellhousing bolt pattern However, it was a new creature. Due to this change, GM determined to alter the firing procedure, and the LS1 now comes with a 1-8-7-2-6-5-4-3 firing sequence.
Download Firing Order For A Chevy 350 Diagram
You have probably heard about the various firing order options for the 5.3 Ls engine and are curious about the different firing patterns of each cylinder within the Chevy. In the Chevy 5.3 engine follows a chain-cross firing procedure. The firing order is vital since it determines the time it is the right time and place that pistons open. Incorrect firing instructions can lead to engine issues and cause the valves to open earlier than normal.
The 5.3 LS Engine was part of the Gen III Small Block series. It was also referred to for its designation Vortec 5300. It was a powerful engine and was operational from 1999 to 2007 in Chevrolet vehicles. The firing pattern for this engine is similar to that of other LS engines. For example, the cylinders 1-6-7 are located on the driver’s side, the cylinders 2-4-6-8 can be found on the passenger’s side.





