Firing Order For 350 Chevy – Did you have the knowledge that the 5.3 and 5.7 Ls engines have different firing order? This article will help you understand the significance of these numbers as well as how to alter them on your vehicle. If you are looking for more information about this, then you can check out our Chevrolet Firing Order Guide. You’ll find out how to modify your engine’s timing in order to receive the highest amount of horsepower. Below are a few examples of Chevy 5.3 and 5.7 firing orders:
What you need to Know about Firing Order For 350 Chevy
You should be aware 5.3 LS Chevrolet firing order. It is the 5.3 LS engine is the third generation of the Small Block Series. It’s sometimes referred to as Vortec 5300. It was in place from 1999 to 2007.
The order of firing for the LS engine is perfect for many reasons. Any change to it will not lead to optimal performance. If you make the wrong change, it may cause damage to the pistons or the crankshaft. Therefore, it is always advised to consult a certified mechanic when making a change. Another reason for an incorrect firing instruction is Chevy 5.3 wiring. Make sure there aren’t any loose connections as they could influence the firing order.
Details about Firing Order For 350 Chevy
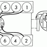
There are many reasons to learn about the 5.7″LS” firing order that is found on a Chevy. There are many reasons, among them the LS1 to LS7 engines’ distinctive firing order. LS1 to LS7 engines operate at 1-8-7-2-6-5-4-3. The BBC firing order is comparable to the one utilized in 5.3L engines, but it is different from the one used on other Chevy vehicles that feature a small-block Chevy engine. This means that once the piston reaches Top Dead Center, the distributor’s rotor will align with the number one spark plug terminal located on the cap on the distributor.
Its LS engine evolves from the original LS1 which first debuted in 1997. It was able to retain the small-block’s 4.40-inch bore spacing and the Gen I bellhousing bolt pattern but was a novel beast. Because of this evolution, GM has decided to alter its firing order. The LS1 is now firing with a 1-8-7-2-6-5-4-3 firing sequence.
Download Firing Order For 350 Chevy
You’ve probably heard of the various firing sequences for the 5.3 the ls engine and are curious as to how each engine fires in a Chevy. What happens in the Chevy 5.3 engine follows a fire sequence that is criss-cross. The order of firing is important since it determines the time it is the right time and place that pistons will shoot. A wrong firing sequence can result in engine malfunctions, and could make the valves open earlier than normal.
The 5.3 LS Engine was part of the Gen III Small Block series. It was also referred to as Vortec 5300. It was a formidable powerplant and was operational from 1999 to 2007 in Chevrolet automobiles. The firing order for this engine is the same as the other LS engines. For instance, cylinders 1-5-7 are located on the driver’s side, while cylinders 2-4-6-8 sit on the passenger’s side.





