Firing Order For 350 Chevy Motor – Did you learn that the 5.3 and 5.7 engine of the LS have differing firing sequences? This article will help you understand the meaning behind these numbers and how to alter them on your vehicle. If you are looking for more information about this, then you can check through our Chevrolet Firing Order Guide. Learn how you can change your engine’s timing and obtain the maximum amount of horsepower. Below are a few examples of the Chevy 5.3 as well as 5.7 firing orders:
What you need to Know about Firing Order For 350 Chevy Motor
The key to understanding the 5.3 LS Chevrolet firing order. The 5.3 LS engine is the third generation of the Small Block Series. It is also known as the Vortec 5300. It was in operation from 1999 until 2007.
The order of firing for the LS engine is the best for many reasons. Making changes to it will not provide the best performance. Also, doing it incorrectly will cause damage to the pistons as well as the crankshaft. It is advised to consult a professional mechanic to carry out the modification. Another reason for a wrong firing process is Chevy 5.3 wiring. You should make sure that there are no disconnected connections, since these could alter the firing sequence.
Details about Firing Order For 350 Chevy Motor
There are a number of reasons to know the 5.7 the firing order for LS on the Chevy. For instance, the LS1 to LS7 engines’ unique firing order. LS1 and LS7 engines run at 1-8-7-2-6-5-4-3. The BBC firing sequence is identical to the one that is used in 5.3L engines, and it is different from that used in other Chevy vehicles that feature the small-block Chevy engine. This means that, when the piston reaches Top Dead Center, the distributor’s distributor rotor is supposed to be aligned with the number one spark plug’s terminal on a cap for the distributor.
The LS engine represents an upgrade of LS1 that was first introduced in 1997. It was built with the small block’s 4.40-inch bore spacing and Gen I bellhousing bolt pattern however it was a new machine. As a result of this development, GM was able to change the firing sequence, and the LS1 has now a 1-8-7-2-6-5-4-3 firing order.
Download Firing Order For 350 Chevy Motor
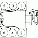
There is a good chance that you have heard about the different firing protocols for the 5.3 engine. engine which is why you’re interested in how each cylinder fires in a Chevy. What happens in the Chevy 5.3 engine follows a sequential firing pattern that’s criss-cross. The order of firing is important in determining when as well as where pistons shoot. The wrong firing order could result in engine problems or make the valves open too early.
The 5.3 LS Engine was part of the Gen III Small Block series. It was also referred to in the form of Vortec 5300. It was a tremendous powerplant that ran from 1999 until 2007 in Chevrolet vehicles. The firing order for this engine is the same as the other LS engines. For example, cylinders 1-6-5-7 are in the driver’s wing, the cylinders 2-4-6-8 can be found on the side of the passenger.





