Firing Order For 350 Chevy 94 – Did you be aware that the 5.3 and 5.7 engine of the LS have differing firing order? This article will help you understand what these numbers mean and how to modify them on your vehicle. If you’re seeking more information about this, then you can check in our Chevrolet Firing Order Guide. You’ll be taught how to alter the timing of your engine in order to ensure you get the maximum horsepower. Below are some examples of Chevy 5.3 and 5.7 firing orders:
What you need to Know about Firing Order For 350 Chevy 94
You should know the 5.3 LS Chevrolet firing order. This 5.3 LS engine is the third generation of the Small Block Series. It is sometimes referred to as Vortec 5300. It was in place from 1999 to 2007.
The firing order of the LS engine is ideal due to a variety of reasons. Making changes to it will not result in optimal performance. In addition, incorrectly changing it could damage the pistons and the crankshaft. It is recommended that you consult a skilled mechanic to carry out the modification. Another factor that can cause an error in firing order is Chevy 5.3 wiring. It is important to ensure that there aren’t any unconnected connections since they could interfere with the firing process.
Details about Firing Order For 350 Chevy 94
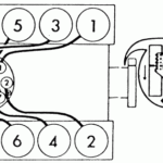
There are a variety of reasons to understand the 5.7 fire order of LS on an Chevy. Of them, are the LS1 to LS7 engines’ unique firing order. LS1 to LS7 engines are fired at 1-8-7-2-6-5-4-3. The BBC firing order is comparable to that of 5.3L engines, and it is different from the one used on other Chevy vehicles with the small-block Chevy engine. This means that, when the piston reaches Top Dead Center, the distributor’s rotor will align with the number one spark plug’s terminal in the cap of the distributor.
The LS engine evolved from the original LS1 that first appeared in 1997. The small-block engine was retained with its 4.40-inch bore spacing, as well as the Gen I bellhousing bolt pattern, but was a completely different animal. Because of this shift, GM changed the firing order. The LS1 now has a 1-8-7-2-6-5-4-3 firing sequence.
Download Firing Order For 350 Chevy 94
There is a good chance that you have heard about the various firing commands for the 5.3 Ls engine and are wondering the way each cylinder operates in the Chevy. This Chevy 5.3 engine follows a chain-cross firing procedure. The order in which the firing occurs is essential because it determines when or where the pistons shoot. Unintentional firing orders can cause engine problems and even cause valves to be opened too early.
The 5.3 LS Engine was part of the Gen III Small Block series. It was also referred to under the designation Vortec 5300. It was a tremendous powerplant that ran from 1999 to 2007 in Chevrolet automobiles. The firing order of this engine is similar to other LS engines. For example, cylinders 1-6-5-7 are located in the driver’s wing, and cylinders 2-6-8 are located on the passenger’s side.





