Firing Order For 1994 Chevy 350 – Did you be aware that the 5.3 and 5.7 ls engines have different firing sequences? This article will explain the meaning behind these numbers and how to make them different on your vehicle. If you’re looking for further information, be sure to check the Chevrolet Firing Order Guide. You’ll find out how to alter your engine’s timing to attain the highest level of horsepower. Below are some instances of the Chevy 5.3 as well as 5.7 firing orders:
What you need to Know about Firing Order For 1994 Chevy 350
The key to understanding the 5.3 LS Chevrolet firing order. It is the 5.3 LS engine is the third generation of the Small Block Series. It is sometimes referred to as Vortec 5300. It was in operation from 1999 until 2007.
The order of firing of the LS engine is ideal for many reasons. Changing it will not provide the best performance. Additionally, changing it incorrectly will cause damage to the pistons as well as the crankshaft. It is recommended to contact a specialist mechanic to perform the procedure. Another reason for firing in error instruction is Chevy 5.3 wiring. You should make sure that there are no loose connections since they can impact the firing order.
Details about Firing Order For 1994 Chevy 350
There are many reasons why you should be aware of the 5.7 Ls firing sequence on a Chevy. Among them are the LS1 to LS7 engines’ distinctive firing order. LS1 towards LS7 engines operate at 1-8-7-2-6-5-4-3. The BBC firing sequence is similar to the one utilized in 5.3L engines, but it is different from the one utilized on other Chevy vehicles with smaller-block Chevy engine. This means that, when the piston reaches Top Dead Center, the distributor’s rotating rotor must be aligned with the number one spark plug terminal located on the cap for the distributor.
Its LS engine evolved from the LS1 that was first introduced in 1997. It retained the small-block’s 4.40-inch bore spacing and the Gen I bellhousing bolt pattern but was a novel beast. As a result of this development, GM was able to change the firing procedure, and the LS1 now comes with a 1-8-7-2-6-5-4-3 firing sequence.
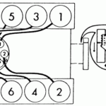
Download Firing Order For 1994 Chevy 350
There is a good chance that you have heard about the different firing protocols for the 5.3 engines. engine and are intrigued by how each cylinder is fired in the Chevy. There is a Chevy 5.3 engine follows a pattern of firing that is crisscross. The order of firing is crucial because it determines when and where the pistons shoot. The wrong firing order could lead to engine problems and even cause valves and valves to shut earlier than normal.
The 5.3 LS Engine was part of the Gen III Small Block series. It was also known for its designation Vortec 5300. It was a fantastic powerplant that ran from 1999 until 2007 in Chevrolet automobiles. The firing order of this engine is the same as other LS engines. For example, cylinders 1-5-7 are on the left side of the driver’s seat, the cylinders 2-4-6-8 can be found on the passenger’s side.





