Firing Order Diagram For 1975 Chevy 350 – Did you have any idea that 5.3 and 5.7 Ls engines have different firing order? This article will explain the meaning behind these numbers and how you can change them on your vehicle. If you’re looking for more information, check on our Chevrolet Firing Order Guide. You’ll learn how to properly alter the timing of your engine to attain the highest level of horsepower. Below are some examples of Chevy 5.3 and 5.7 firing orders:
What you need to Know about Firing Order Diagram For 1975 Chevy 350
It is essential to be aware of the 5.3 LS Chevrolet firing order. It is the 5.3 LS engine is the third generation of the Small Block Series. It’s also known as the Vortec 5300. It was in existence from 1999 to 2007.
The firing order of the LS engine is perfect for a variety of reasons. Making changes to it will not yield optimal performance. If you make the wrong change, it will damage the pistons as well as the crankshaft. Therefore, it is always recommended to contact a specialist mechanic to perform the procedure. Another reason for an incorrect firing instruction is Chevy 5.3 wiring. Make sure there are no loose connections , as these could affect the firing order.
Details about Firing Order Diagram For 1975 Chevy 350
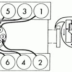
There are many reasons for you to be aware of the 5.7 fire order of LS on an Chevy. Of them, are the LS1 to LS7 engines’ unique firing order. LS1 and LS7 engines are fired at 1-8-7-2-6-5-4-3. The BBC firing sequence is similar to the one utilized in 5.3L engines, and it differs from the one employed on other Chevy vehicles that feature a small-block Chevy engine. It means that when the piston reaches Top Dead Center, the distributor’s distributor rotor is supposed to be aligned with the number one ignition plug’s terminal, which is on the distributor cap.
The LS engine was a reworking of the original LS1 which first debuted in 1997. It was built with the small block’s 4.40-inch bore spacing as well as the Gen I bellhousing bolt pattern and was, however, a completely new animal. Because of this evolution, GM chose to alter the firing procedure, and the LS1 has now a 1-8-7-2-6-5-4-3 firing sequence.
Download Firing Order Diagram For 1975 Chevy 350
You have probably heard about the different firing protocols for the 5.3 LS engine and are wondering the firing sequence of each cylinder in a Chevy. For instance, the Chevy 5.3 engine follows a pattern of firing that is crisscross. The firing order is vital because it determines when and where the pistons will begin to fire. Incorrect firing can result in engine misfires and cause valves and valves to shut in a premature manner.
The 5.3 LS Engine was part of the Gen III Small Block series. It was also referred to by the name Vortec 5300. It was a formidable powerplant that ran from 1999 to 2007 in Chevrolet vehicles. The firing order for this engine is similar to other LS engines. For instance, cylinders 1-6-5-7 are on the driver’s side while cylinders 2 – 4-8-8 are located on the passenger’s side.





