Firing Order Chevy 350 5.7l – If you’ve actually employed an Chevy 5.3 and were unsure of the firing sequence it’s not an issue. This article will deal with by far the most commonly questioned inquiries, and reveal to you exactly where each cylinder should certainly be firing. It is possible that you are contemplating whether you should alter the order. Alternatively, if you are able to use the factory setting. In either circumstance, knowing the actual firing purchase to your 5.3 can save you from stress. Discover the appropriate method to use to work with along with your engine. Firing Order Chevy 350 5.7l.
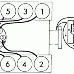
5.7L engine’s firing order for firing is 1-8-7-2-6-5-4-3
This Chevy 5.7L engine’s fireplace series starts off with quantity 8-10, the driver’s side, then movements for the reverse end with all the cylinders with even phone numbers. This is because, once the cylinders are put into these combustion chambers they will rotate in a single cylinder pattern. The firing sequence is similar to the firing order on the 5.3L engine, but it is different from the firing pattern of the Chevrolet LSX engine.
This is the Chevrolet 5.7L engine’s fireplace series is identical to the LS1 equivalent. The ZR-1 was stopped in half a dozen several years of its creation. In 1997 the LT5 was released rather than Corvette users. Chevrolet Corvette, and the organization was fast to manufacture it in sizeable numbers. The 5.7L was developed with an aluminum head and block to improve strength and endurance. The 5.7L’s functionality as compared to it’s Gen I predecessor was substantially improved.
When converting heads The LS7 cylinder heads can be used with some other LS engines. The consumption harbour diameters from the LS7 vary from the ones from that from LS3 along with LS9 heads. The LS9 mind isn’t capable of being added to an obstruct which is LS1 or LS2. The LS7 mind is distinct from LS1 and also LS2 prevents. The LS7 prevent is made of 12mm bolts to connect your head from the tube.
The LS combination of motors was built making use of the lightweight aluminum prevent when before steel disables have been created from metal. The most up-to-date number of heads for cylinders experienced the 15-level position valve perspective and also improved combustion chambers. Together with an advanced ignition device, the firing design that is used from the Chevy 5.7L motor is 1-8-7-2-6-5-4-3. The exhaust manifolds were also enhanced.
If you’re installing an engine with LS1 or a Gen III engine, you have to update the table to reflect the latest ignition system. It is crucial to ensure that the various ignition devices are in sync before the engine can be put in place. For that LS1 in addition to LS3 generator will almost certainly call for interconnection from the induction PCM and banks. The order of firing of Gen III generator is Gen III engine is 1-8-7-2-6-5-4-3.
5.3L engine’s firing sequence is 1-8-4-3-6-5-7-2
You’ll need to understand the taking pictures sequence for your GM 5.3L motor to have highest functionality as a result. It’s not the same as other Chevy lorriesthat have SBC engines. The firing series for your 5.3L Chevy generator is normally 1-8-4-3-6-5-7-2. It is different from other engines that make use of SB and also BB V8s.
The first tube of the 5.3L can be found to the left in the motor. In the event that the cylinder is situated positioned in the midst of the motor then change 90° to transform the crankshaft still left. This causes that generator to rev faster. The following cylinder on the firing order can be found in middle. This creates a lot more strain. The ultimate tube is situated on the leading within the motor.
The firing order of an 5.3L motor is the same for your 350. A Z/28 engine has the same basic structure of a 350, but it is regarded as to be a V8 with slightly more power. Each engines have absorption plug-ins that are swirled and consumption plug-ins that GM calls “vortex chambers”. This may decrease power and airflow production. It’s also used to save petrol.
This is the 5.3L engine’s firing style can be defined as: One particular piston is turned off at TDC even though the up coming the initial one is triggered. This takes place following the tension of the ingestion manifold goes up. Simply because this comes about the gasoline injector is not really active until the tube has arrived at TDC. The gas from your cylinder that is not activated is dragged in the tube and after that ignited and then burned up for restoring regular engine procedure.
It will be the 5.3L engine’s firing routine is considered the most complex elements of the LS-series of engines. The gas injectors are switched in a manner that the PCM has to pay attention to which injectors are operating and which aren’t. Improperly-mapped injectors can cause excessive gas trims and even stalling. Andin certain cases the engine could end fully.





