Firing Order 73 Chevy 350 – Did you know that the 5.3 and 5.7 Ls engines have distinct firing sequences? This article will help you understand the significance of these numbers as well as what you can do to change them in your vehicle. If you’re looking for additional information, make sure to check through our Chevrolet Firing Order Guide. You’ll find out how to change your engine’s timing and obtain the maximum amount of horsepower. Below are several examples of Chevy 5.3 and 5.7 firing orders:
What you need to Know about Firing Order 73 Chevy 350
You should be aware of the 5.3 LS Chevrolet firing order. The 5.3 LS engine is the third generation of the Small Block Series. It’s also known as Vortec 5300. It was in existence from 1999 to 2007.
The firing order of the LS engine is the best for a variety of reasons. Changes to it won’t provide the best performance. If you make the wrong change, it could cause damage to the pistons or the crankshaft. Thus, it is recommended to consult with a qualified mechanic in order to change it. Another reason for incorrect firing or firing order could be Chevy 5.3 wiring. Make sure there aren’t any loose connections as this could affect the firing order.
Details about Firing Order 73 Chevy 350
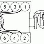
There are many reasons to learn about the 5.7 ls firing order on an Chevy. One of them is the LS1 to LS7 engines’ distinctive firing order. LS1 and LS7 engines run at 1-8-7-2-6-5-4-3. The BBC firing sequence is identical to the one that is used in 5.3L engines, but it differs from the one employed on other Chevy vehicles that are equipped with a small-block Chevy engine. That means that when the piston is at Top Dead Center, the distributor’s distributor rotor is supposed to be aligned with the number one spark plug’s terminal on a cap of the distributor.
The LS engine has evolved over the LS1 which first came into use in 1997. It was built with the small block’s 4.40-inch bore spacing as well as the Gen I bellhousing bolt pattern and was, however, a completely modernized beast. In light of this, GM made a decision to alter the firing order. The LS1 now has a 1-8-7-2-6-5-4-3 firing sequence.
Download Firing Order 73 Chevy 350
You have probably heard about the various firing sequences for the 5.3 Ls engine You are probably curious about how each cylinder fires in the Chevy. In the Chevy 5.3 engine follows a circular firing sequence. The order in which the firing occurs is essential in determining when and where the pistons will open. An incorrect firing sequence could cause engine misfires and cause valves to open prematurely.
The 5.3 LS Engine was part of the Gen III Small Block series. It was also known by the name Vortec 5300. It was a great powerplant that ran from 1999 to 2007 in Chevrolet vehicles. The firing order for this engine follows the same pattern as other LS engines. In this case, cylinders 1-6-7 are located on the passenger’s side, while cylinders 2-4-6-8 sit on the side of the passenger.





