Chevy Sbc 350 Firing Order – Did you know that the 5.3 and 5.7 ls engines have different firing orders? This article will help you understand the meaning behind these numbers and how to make them different on your vehicle. If you’re looking for further information, be sure to check out our Chevrolet Firing Order Guide. You’ll find out how to change your engine’s timing and make the most of your horsepower. Below are some instances of the Chevy 5.3 as well as 5.7 firing sequences:
What you need to Know about Chevy Sbc 350 Firing Order
It is essential to be aware of the 5.3 LS Chevrolet firing order. The 5.3 LS engine is the third generation of the Small Block Series. It is also known as the Vortec 5300. It was in service from 1999 till 2007.
The firing order of the LS engine is ideal for a variety of reasons. Changes to it won’t produce optimal performance. In addition, incorrectly changing it could cause damage to the pistons or the crankshaft. Thus, it is recommended to consult an expert mechanic before making any changes. Another factor that can cause an error in firing sequence is Chevy 5.3 wiring. It is important to ensure that there aren’t any loose connections as they could alter the firing sequence.
Details about Chevy Sbc 350 Firing Order
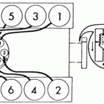
There are a variety of reasons to know the 5.7 Ls firing sequence on an Chevy. For instance, the LS1 to LS7 engines’ distinct firing order. LS1 towards LS7 engines operate at 1-8-7-2-6-5-4-3. The BBC firing sequence is similar to the one used on 5.3L engines, and it is different from that employed on other Chevy vehicles that are equipped with smaller-block Chevy engine. It means that when the piston is at Top Dead Center, the distributor’s rotor must align with the number one ignition plug’s terminal, which is on the cap for the distributor.
Its LS engine can be described as an improvement of the LS1 that first came out in 1997. It was able to retain the small-block’s 4.40-inch bore spacing, as well as the Gen I bellhousing bolt pattern However, it was a new animal. Because of this evolution, GM decided to modify the firing order. The LS1 currently has a 1-8-7-2-6-5-4-3 firing sequence.
Download Chevy Sbc 350 Firing Order
You’ve probably heard about the various firing commands for the 5.3 engines. engine and you are interested in how each cylinder is fired in a Chevy. In the Chevy 5.3 engine follows a criss-cross firing sequence. The firing order is vital because it decides when or where the pistons ignite. Improper firing procedures can result in engine issues and cause valves from opening too early.
The 5.3 LS Engine was part of the Gen III Small Block series. It was also known as Vortec 5300. It was an excellent powerplant and reigned from 1999 to 2007 in Chevrolet automobiles. The firing order of this engine is identical to the other LS engines. In this case, cylinders 1-6-7 are on the side of the driver, while cylinders 2-4-6-8 reside on the side of the passenger.





