Chevy 350 Hei Firing Order – Did you know that the 5.3 and 5.7 ls engines have different firing orders? This article will explain the meaning behind these numbers and how to modify them on your vehicle. If you’re looking for further information, be sure to check for our Chevrolet Firing Order Guide. You’ll be taught how to modify the timing of your engine and ensure you get the maximum horsepower. Below are several examples of the Chevy 5.3 and 5.7 firing sequences:
What you need to Know about Chevy 350 Hei Firing Order
You should know the 5.3 LS Chevrolet firing order. This 5.3 LS engine is the third generation of the Small Block Series. It’s also known as the Vortec 5300. It was in service from 1999 till 2007.
The firing sequence of the LS engine is ideal due to a variety of reasons. Modifying it won’t lead to optimal performance. Furthermore, if you do it wrong, you will damage the pistons as well as the crankshaft. Therefore, it is always recommended to contact a specialist mechanic to make the change. Another reason for an incorrect firing orders is Chevy 5.3 wiring. It is important to ensure that there are no unconnected connections since they could influence the firing order.
Details about Chevy 350 Hei Firing Order
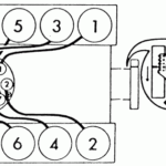
There are many reasons why you should be aware of the 5.7 Ls firing sequence on a Chevy. There are many reasons, among them the LS1 to LS7 engines’ distinctive firing order. LS1 in LS7 engines operate at 1-8-7-2-6-5-4-3. The BBC firing sequence is identical to the one used on 5.3L engines, and it is different from that employed on other Chevy models that have small-block Chevy engine. This means that once the piston reaches Top Dead Center, the distributor’s rotation should be in alignment with the number one spark plug’s terminal that is located on the cap on the distributor.
This LS engine represents an upgrade of original LS1 which was introduced in 1997. It was built with the small block’s 4.40-inch bore spacing and the Gen I bellhousing bolt pattern but was completely new machine. This was due to the fact that GM determined to alter the firing process, and the LS1 now has a 1-7-8-7-2-6-5-4-3 firing sequence.
Download Chevy 350 Hei Firing Order
You’ve probably heard of the various firing sequences for the 5.3 ls engine which is why you’re interested in the way each cylinder operates in a Chevy. For instance, the Chevy 5.3 engine follows a fire sequence that is criss-cross. The order in which the firing occurs is essential, as it determines when to and from where pistons will go into action. Unintentional firing orders can result in engine fires that are not properly controlled and may make the valves open too early.
The 5.3 LS Engine was part of the Gen III Small Block series. It was also known under the designation Vortec 5300. It was a fantastic powerplant and was in use from 1999 to 2007 in Chevrolet automobiles. The firing order for this engine follows the same pattern as other LS engines. For instance, cylinders 1-6-5-7 are on the passenger’s side, while cylinders 2-4-6-8 sit on the passenger’s side.





