Chevy 350 Firing Order Distributor – Did you not know that the 5.3 and 5.7 engine of the LS have differing firing sequences? This article will help you understand the meaning of these numbers and the best way to alter them in your vehicle. If you’re looking for further information, be sure to check into our Chevrolet Firing Order Guide. You’ll learn how to properly alter the timing of your engine to receive the highest amount of horsepower. Listed below are some examples of the Chevy 5.3 and 5.7 firing sequences:
What you need to Know about Chevy 350 Firing Order Distributor
You should be aware of the 5.3 LS Chevrolet firing order. This 5.3 LS engine is the third generation of the Small Block Series. It is sometimes referred to as Vortec 5300. It was in power from 1999 until 2007.
The order of firing for the LS engine is perfect for many reasons. Making changes to it will not produce optimal performance. Furthermore, improperly changing it could damage the pistons and the crankshaft. It is recommended to consult an expert mechanic when making a change. Another cause for an incorrect firing or firing order could be Chevy 5.3 wiring. Make sure there aren’t any broken connections because they can affect the firing procedure.
Details about Chevy 350 Firing Order Distributor
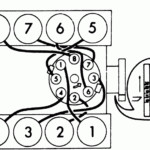
There are numerous reasons to be aware of the 5.7″LS” firing order that is found on a Chevy. Among them are the LS1 to LS7 engines’ distinct firing order. LS1 up to LS7 engines operate at 1-8-7-2-6-5-4-3. The BBC firing sequence is similar to that used in 5.3L engines, but it differs from the one utilized on other Chevy vehicles that feature the small-block Chevy engine. It means that when the piston reaches Top Dead Center, the distributor’s rotor needs to align with the number one spark plug’s terminal that is located on the cap of the distributor.
The LS engine evolved from the LS1 which first debuted in 1997. It retained the small block’s 4.40-inch bore spacing, as well as the Gen I bellhousing bolt pattern however it was a new machine. In light of this, GM changed the firing order, and the LS1 now comes with a 1-8-7-2-6-5-4-3 firing order.
Download Chevy 350 Firing Order Distributor
You’ve probably heard of the various firing patterns for the 5.3 engine. engine which is why you’re interested in the firing sequence of each cylinder in a Chevy. It is believed that the Chevy 5.3 engine follows a criss-cross firing sequence. The order of firing is crucial and determines when you and the location where your pistons shoot. A wrong firing sequence can lead to engine fires that are not properly controlled and may make the valves open in a premature manner.
The 5.3 LS Engine was part of the Gen III Small Block series. It was also known under the designation Vortec 5300. It was a great powerplant and was operational from 1999 to 2007 in Chevrolet automobiles. The firing pattern for this engine is the same as the other LS engines. For example, cylinders 1-6-5-7 are located on the passenger’s side, while cylinders 2-4-6-8 sit on the passenger’s side.





