Chevy 350 Firing Order 1970 – Did you have the knowledge that the 5.3 and 5.7 engine of the LS have differing firing orders? This article will explain the meaning behind these numbers and how to change them on your vehicle. If you’re looking for more information, check the Chevrolet Firing Order Guide. Learn how you can alter your engine’s timing to make the most of your horsepower. Listed below are some examples of Chevy 5.3 and 5.7 firing orders:
What you need to Know about Chevy 350 Firing Order 1970
The key to understanding the 5.3 LS Chevrolet firing order. It is the 5.3 LS engine is the third generation of the Small Block Series. It’s also known as the Vortec 5300. It reigned from 1999 to 2007.
The order of firing for the LS engine is ideal for a variety of reasons. It is not a good idea to alter it, as it can result in optimal performance. Additionally, changing it incorrectly could cause damage to pistons or the crankshaft. So, it is recommended to seek expert mechanics to carry out the modification. Another reason for a wrong firing process is Chevy 5.3 wiring. It is important to ensure that there are no loose connections , as these could alter the firing sequence.
Details about Chevy 350 Firing Order 1970
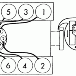
There are many reasons to understand the 5.7″LS” firing pattern on an Chevy. The most important of these is the LS1 to LS7 engines’ unique firing order. LS1 and LS7 engines are fired at 1-8-7-2-6-5-4-3. The BBC firing sequence is similar to the one used in 5.3L engines, but it differs from the one used on other Chevy vehicles that feature a small-block Chevy engine. This means that once the piston is at Top Dead Center, the distributor’s rotor should align with the number one spark plug’s terminal that is located on the distributor cap.
Its LS engine will be an update of LS1 that first came out in 1997. It retained the small-block’s 4.40-inch bore spacing and Gen I bellhousing bolt pattern but was completely new beast. As a result of this development, GM changed the firing procedure, and the LS1 now has a 1-8-7-2-6-5-4-3 firing sequence.
Download Chevy 350 Firing Order 1970
You’ve probably heard about the various firing patterns for the 5.3 Ls engine You are probably curious about the firing sequence of each cylinder in a Chevy. What happens in the Chevy 5.3 engine follows a pattern of firing that is crisscross. The order of firing is important, as it determines when as well as where pistons open. Unintentional firing orders can result in engine misfires and cause valves to be opened too early.
The 5.3 LS Engine was part of the Gen III Small Block series. It was also known as Vortec 5300. It was a tremendous powerplant that ran from 1999 to 2007 in Chevrolet vehicles. The firing pattern for this engine is similar to other LS engines. For example, cylinders 1-5-7 are on the driver’s side the cylinders 2-4-6-8 can be found on the side of the passenger.





