Chevy 350 Distributor Firing Order – Did you have any idea that 5.3 and 5.7 ls engines have different firing orders? This article will help you understand the meaning of these numbers and how to alter them on your vehicle. If you are looking for more details, try checking into our Chevrolet Firing Order Guide. It will help you adjust your engine’s timer and gain the maximum horsepower. Below are a few examples of the Chevy 5.3 and 5.7 firing sequences:
What you need to Know about Chevy 350 Distributor Firing Order
You should be aware 5.3 LS Chevrolet firing order. The 5.3 LS engine is the third generation of the Small Block Series. It is sometimes referred to as Vortec 5300. It was in operation from 1999 until 2007.
The firing sequence of the LS engine is optimal for a variety of reasons. Changing it will not bring about optimal performance. Furthermore, if you do it wrong, you could cause damage to the pistons or the crankshaft. So, it is recommended to consult an expert mechanic to carry out the modification. Another reason that could cause a misfiring order is Chevy 5.3 wiring. Make sure there aren’t any loose connections since they can have an impact on the firing order.
Details about Chevy 350 Distributor Firing Order
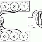
There are a number of reasons to understand the 5.7 fire order of LS on the Chevy. Among them are the LS1 to LS7 engines’ unique firing order. LS1 in LS7 engines operate at 1-8-7-2-6-5-4-3. The BBC firing order is similar as the one used by 5.3L engines, and it is different from the one used in other Chevy automobiles that come with the small-block Chevy engine. It means that when the piston is at Top Dead Center, the distributor’s rotor should align with the number one spark plug’s terminal on the distributor cap.
The LS engine evolved from the LS1 which was introduced in 1997. It was built with the small block’s 4.40-inch bore spacing, as well as the Gen I bellhousing bolt pattern however it was a new creature. This was due to the fact that GM decided to modify the firing order. The LS1 now has a 1-8-7-2-6-5-4-3 firing order.
Download Chevy 350 Distributor Firing Order
You have probably heard about the different firing instructions for the 5.3 the ls engine and are curious as to the different firing patterns of each cylinder within the Chevy. It is believed that the Chevy 5.3 engine follows a circular firing sequence. The order of firing is crucial in that it decides when as well as where pistons be fired. An incorrect firing sequence could result in engine fires that are not properly controlled and may cause valves and valves to shut too early.
The 5.3 LS Engine was part of the Gen III Small Block series. It was also referred to by the name Vortec 5300. It was a formidable powerplant and reigned from 1999 to 2007 in Chevrolet automobiles. The firing pattern for this engine is similar to the other LS engines. For example, cylinders 1-5-7 are located on the left side of the driver’s seat, while cylinders 2 – 4-8-8 are located on the side of the passenger.





