Chevy 350 Distributor Firing Order With Hei – Did you know that the 5.3 and 5.7 engine of the LS have differing firing order? This article will help you understand the meaning of these numbers and what you can do to change them in your vehicle. If you are looking for further information, be sure to check the Chevrolet Firing Order Guide. You’ll learn how to properly adjust your engine’s timer and gain the maximum horsepower. Listed below are some examples of the Chevy 5.3 and 5.7 firing orders:
What you need to Know about Chevy 350 Distributor Firing Order With Hei
You must be aware of the 5.3 LS Chevrolet firing order. This 5.3 LS engine is the third generation of the Small Block Series. It’s also known as the Vortec 5300. It was in place from 1999 to 2007.
The order of firing for the LS engine is perfect for a variety of reasons. Making changes to it will not bring about optimal performance. Also, doing it incorrectly could result in damage to the pistons, or the crankshaft. Thus, it is advised to consult an expert mechanic to perform the procedure. Another reason for incorrect firing procedure is Chevy 5.3 wiring. You should make sure that there are no broken connections because they can interfere with the firing process.
Details about Chevy 350 Distributor Firing Order With Hei
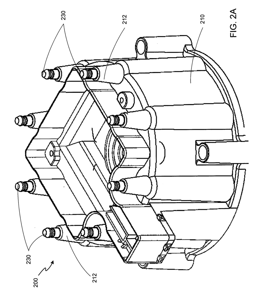
There are a number of reasons to learn about the 5.7 ls firing order on an Chevy. Included in them is LS1 to LS7 engines’ unique firing order. LS1 towards LS7 engines run at 1-8-7-2-6-5-4-3. The BBC firing sequence is identical as the one used by 5.3L engines, and it is different from that employed on other Chevy models that have small-block Chevy engine. This means that when the piston is at Top Dead Center, the distributor’s shaft should be aligned to the number one spark plug’s terminal on a distributor cap.
The LS engine represents an upgrade of LS1 which first debuted in 1997. It was able to retain the small-block’s 4.40-inch bore spacing and Gen I bellhousing bolt pattern however it was an entirely new creature. Because of this change, GM changed the firing sequence. LS1 has now a 1-8-7-2-6-5-4-3 firing order.
Download Chevy 350 Distributor Firing Order With Hei
There is a good chance that you have heard about the various firing patterns for the 5.3 engines. engine and are curious about how each engine fires in a Chevy. For instance, the Chevy 5.3 engine follows a sequential firing pattern that’s criss-cross. The firing order is vital since it determines the time and in which direction the pistons will begin to fire. A wrong firing sequence can lead to engine malfunctions, and could cause valves to open earlier than normal.
The 5.3 LS Engine was part of the Gen III Small Block series. It was also referred to under the designation Vortec 5300. It was a great powerplant that was in operation from 1999 until 2007 in Chevrolet vehicles. The firing order of this engine is the same as the other LS engines. For instance, cylinders 1-6-5-7 are in the driver’s wing, and cylinders 2-4-6-8 are situated on the passenger’s side.





