Chevy 2.5 L Firing Order – You could have asked yourself what exactly is the Chevy 2.8 firing buy. This article will supply what exactly is the Chevy 2.8 firing routine thorough. Before you decide to determine the specific get make certain you come to be familiarized from the 2.8 V6’s essential characteristics. If you’re not familiar in regards to the firing pattern the details are offered in the owner’s handbook. Remember that particular cars have distinct firing directions when compared with others. So, be sure to study the instruction manual thoroughly to understand the correct firing procedure to use with your car. Chevy 2.5 L Firing Order.
GM 2.8 firing buy for v6
If you’re looking for the best Chevy Camaro RS 2.7L or even a Buick LaCrosse 3.8L Firing Get You’re from the right area. Chevrolet’s 2.8L V6 motor comes with the firing purchase of 1-2-3-4-5-6. Below, you’ll discover the information and facts essential that may help you solve all of these complications with your car or truck. Bear in mind that the firing pattern is distinct on the auto year and model, and may even be different in a slight manner from one model to another.
If you’re installing a GM 2.8 V6, make certain to study the engine manual carefully and be aware of what cylinders are on your driver’s side. The vast majority of direct 6s are animated, rendering it an easy task to get perplexed as soon as the sequence differs to yours. GM offers tube placements in the owner’s manual. Don’t hesitate to reach us if you have any queries you’re looking for answers! Our experts are available to assist you in creating the correct choice.
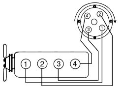
Very first, you need to determine the firing sequence for the engine. GM indicates by using this firing get: 1-6-5-4-3. The firing get converts the provider clockwise, even so there are some exceptions. The top place is on top of the 2 content at forward of your circulation. Usually, the kindle connect is taken off incorrectly. Make sure the spark plug in the first place is removed and that your harmonic balancer has been in dead in the middle if your ignition isn’t working correctly.
You may well be thinking about what to do to begin on the GM 2.8 V6 engine. It is essential to know the way the ignite plugs of the motor function. If you do not have a service manual then refer to the owner’s manual. Guides will summarize the firing buy for each and every tube. As an illustration the Tube # 1 must be connected to the distributor’s terminal instantly clockwise. Cylinder # 2 needs to be connected to distributor straight away counterclockwise. A problem using this type of series could result in the car isn’t commencing.





