99 Chevy 350 Firing Order – Did you realize that the 5.3 and 5.7 engines of the LS have different firing sequences? This article will help you understand the meaning of these numbers and how to modify them on your vehicle. If you are looking for more details, you should check on our Chevrolet Firing Order Guide. It will help you adjust the timing on your engine and obtain the maximum amount of horsepower. Below are examples of the Chevy 5.3 as well as 5.7 firing order:
What you need to Know about 99 Chevy 350 Firing Order
You should be aware of the 5.3 LS Chevrolet firing order. The 5.3 LS engine is the third generation of the Small Block Series. It’s often referred to as the Vortec 5300. It was in service from 1999 till 2007.
The order of firing of the LS engine is ideal due to a variety of reasons. Altering it will not yield optimal performance. Also, changing it improperly could cause damage to the pistons or the crankshaft. Therefore, it is always recommended that you consult a skilled mechanic to perform the procedure. Another reason for incorrect firing sequence is Chevy 5.3 wiring. Make sure there aren’t any loose connections since they can affect the firing procedure.
Details about 99 Chevy 350 Firing Order
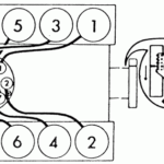
There are many reasons to be aware of the 5.7 Ls firing sequence on an Chevy. One of them is the LS1 to LS7 engines’ unique firing order. LS1 to LS7 engines run at 1-8-7-2-6-5-4-3. The BBC firing sequence is identical to the one used on 5.3L engines, but it differs from the one used on other Chevy vehicles that are equipped with smaller-block Chevy engine. This means that once the piston is at Top Dead Center, the distributor’s rotor will align with the number one ignition plug’s terminal, which is on the cap for the distributor.
This LS engine will be an update of original LS1 which first came into use in 1997. The small-block engine was retained with its 4.40-inch bore spacing and the Gen I bellhousing bolt pattern, but was a completely different animal. Because of this evolution, GM chose to alter the firing procedure, and the LS1 has now been given a 1-8-7-2-6-5-4-3 firing sequence.
Download 99 Chevy 350 Firing Order
It is likely that you’ve heard of the various firing commands for the 5.3 ls engine and you are interested in the firing sequence of each cylinder in the Chevy. The Chevy 5.3 engine follows a fire sequence that is criss-cross. The firing order is vital, as it determines when you and the location where your pistons will ignite. Incorrect firing instructions can result in engine malfunctions, and could trigger valves that open too early.
The 5.3 LS Engine was part of the Gen III Small Block series. It was also known in the form of Vortec 5300. It was a great powerplant that ran from 1999 to 2007 in Chevrolet vehicles. The firing order of this engine is the same as the other LS engines. For instance, cylinders 1-6-5-7 are on the driver’s side, while cylinders 2-4-6-8 sit on the passenger’s side.





