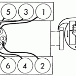
93 Chevy 350 Firing Order Diagram – Did you learn that the 5.3 and 5.7 engine of the LS have differing firing order? This article will help you understand the significance of these numbers as well as how you can change them on your vehicle. If you’re in search of more information, think about checking through our Chevrolet Firing Order Guide. Learn how to alter your engine’s timing to receive the highest amount of horsepower. Below are a few examples of Chevy 5.3 and 5.7 firing sequences:
What you need to Know about 93 Chevy 350 Firing Order Diagram
You should be aware 5.3 LS Chevrolet firing order. This 5.3 LS engine is the third generation of the Small Block Series. It is sometimes referred to as Vortec 5300. It was in operation from 1999 until 2007.
The firing order of the LS engine is the best for a variety of reasons. It is not a good idea to alter it, as it can bring about optimal performance. In addition, making the change incorrectly will cause damage to the pistons as well as the crankshaft. So, it is recommended that you consult a skilled mechanic to perform the procedure. Another cause for an incorrect firing or firing order could be Chevy 5.3 wiring. Make sure there are no loose connections as this could impact the firing order.
Details about 93 Chevy 350 Firing Order Diagram
There are several reasons to know the 5.7 Ls firing sequence on the Chevy. Included in them is LS1 to LS7 engines’ distinctive firing order. LS1 through LS7 engines operate at 1-8-7-2-6-5-4-3. The BBC firing sequence is similar to the one used on 5.3L engines, and it differs from the one used on other Chevy automobiles that come with a small-block Chevy engine. It means that when the piston is at Top Dead Center, the distributor’s rotating rotor must be aligned with the number one spark plug’s terminal in the cap on the distributor.
The LS engine can be described as an improvement of the original LS1 which first came into use in 1997. It kept the small-block’s 4.40-inch bore spacing and Gen I bellhousing bolt pattern however it was an entirely new beast. Because of this evolution, GM has decided to alter its firing sequence. LS1 will now have a 1-8-7-2-6-5-4-3 firing order.
Download 93 Chevy 350 Firing Order Diagram
You’ve probably heard about the various firing patterns for the 5.3 LS engine and are curious about what each cylinder does in the Chevy. What happens in the Chevy 5.3 engine follows a cross-fired firing sequence. The order in which the firing occurs is essential because it decides when it is the right time and place that pistons open. Incorrect firing instructions can cause engine malfunctions, and could cause the valves to open too early.
The 5.3 LS Engine was part of the Gen III Small Block series. It was also referred to under the designation Vortec 5300. It was a great powerplant that was in operation from 1999 until 2007 in Chevrolet vehicles. The firing pattern for this engine is similar to the other LS engines. For example, cylinders 1-5-7 are on the side of the driver, while cylinders 2-4-6-8 reside on the passenger’s side.





