88 Chevy 350 Firing Order – Did you consider that the 5.3 and 5.7 engine have different firing sequences? This article will explain what these numbers mean and how to change them on your vehicle. If you’re seeking more information, check in our Chevrolet Firing Order Guide. Learn how you can alter the timing of your engine to attain the highest level of horsepower. Here are some examples of the Chevy 5.3 and 5.7 firing order:
What you need to Know about 88 Chevy 350 Firing Order
You need to know the 5.3 LS Chevrolet firing order. The 5.3 LS engine is the third generation of the Small Block Series. It’s also known as Vortec 5300. It reigned from 1999 to 2007.
The firing sequence of the LS engine is optimal due to a variety of reasons. Altering it will not ensure optimal performance. Additionally, changing it incorrectly could damage the pistons and the crankshaft. So, it is advised to consult a certified mechanic to make the change. Another cause of incorrect firing or firing order could be Chevy 5.3 wiring. Make sure there aren’t any loose connections as this could have an impact on the firing order.
Details about 88 Chevy 350 Firing Order
There are several reasons to know the 5.7 Ls firing order for an Chevy. The most important of these is the LS1 to LS7 engines’ unique firing order. LS1 to LS7 engines operate at 1-8-7-2-6-5-4-3. The BBC firing sequence is identical to the one that is used in 5.3L engines, and it is different from that employed on other Chevy models that have smaller-block Chevy engine. This means that, when the piston reaches Top Dead Center, the distributor’s rotor needs to align with the number one spark plug’s terminal in the cap on the distributor.
The LS engine can be described as an improvement of the original LS1 which was introduced in 1997. The small-block engine was retained with its 4.40-inch bore spacing as well as the Gen I bellhousing bolt pattern but was a new machine. In light of this, GM has decided to alter its firing sequence. LS1 has now a 1-8-7-2-6-5-4-3 firing sequence.
Download 88 Chevy 350 Firing Order
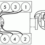
There is a good chance that you have heard about the various firing sequences for the 5.3 the ls engine You are probably curious about how each cylinder is fired in a Chevy. The Chevy 5.3 engine follows a fire sequence that is criss-cross. The order of firing is crucial because it decides when you and the location where your pistons will fire. A wrong firing sequence can lead to engine problems and even result in valves opening prematurely.
The 5.3 LS Engine was part of the Gen III Small Block series. It was also referred to under the designation Vortec 5300. It was a superb powerplant and was used from 1999 to 2007 in Chevrolet automobiles. The firing order of this engine is similar to that of other LS engines. For example, cylinders 1-6-5-7 are in the driver’s wing, and cylinders 2-4-6-8 are situated on the passenger’s side.





