72 Chevy 350 Firing Order – Did you not know that the 5.3 and 5.7 engine of the LS have differing firing order? This article will explain the meaning behind these numbers and how to make them different on your vehicle. If you’re in search of more details, try checking in our Chevrolet Firing Order Guide. Learn how to alter the timing of your engine in order to get the maximum amount of horsepower. Listed below are some examples of the Chevy 5.3 and 5.7 firing orders:
What you need to Know about 72 Chevy 350 Firing Order
You should be aware of the 5.3 LS Chevrolet firing order. The 5.3 LS engine is the third generation of the Small Block Series. It’s also known as Vortec 5300. It was in service from 1999 till 2007.
The firing sequence of the LS engine is perfect due to a variety of reasons. It is not a good idea to alter it, as it can give you the optimal performance. Also, changing it improperly can damage the pistons or the crankshaft. So, it is advised to consult a certified mechanic to make the change. Another reason for a wrong firing process is Chevy 5.3 wiring. You should make sure that there aren’t any loose connections since they can interfere with the firing process.
Details about 72 Chevy 350 Firing Order
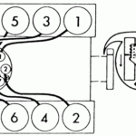
There are numerous reasons to know the 5.7 fire order of LS on a Chevy. There are many reasons, among them the LS1 to LS7 engines’ distinctive firing order. LS1 from LS7 engines are fired at 1-8-7-2-6-5-4-3. The BBC firing order is comparable to the one used on 5.3L engines, and it is different from the one used in other Chevy vehicles that are equipped with small-block Chevy engine. That means that when the piston is at Top Dead Center, the distributor’s rotation should be in alignment with the number one spark plug’s terminal that is located on the distributor cap.
This LS engine is an evolution of the original LS1 which first debuted in 1997. It was able to retain the small-block’s 4.40-inch bore spacing, as well as the Gen I bellhousing bolt pattern but was a new beast. This was due to the fact that GM was able to change the firing order, and the LS1 has now a 1-8-7-2-6-5-4-3 firing sequence.
Download 72 Chevy 350 Firing Order
There is a good chance that you have heard about the different firing orders for the 5.3 the ls engine You are probably curious about the way each cylinder operates in the Chevy. For instance, the Chevy 5.3 engine follows a pattern of firing that is crisscross. The order of firing is crucial because it decides when or where the pistons will start firing. A wrong firing sequence can cause engine failures or cause the valves to open earlier than normal.
The 5.3 LS Engine was part of the Gen III Small Block series. It was also referred to in the form of Vortec 5300. It was a superb powerplant that ran from 1999 to 2007 in Chevrolet automobiles. The firing pattern for this engine is identical to the other LS engines. For example, the cylinders 1-6-7 are located at the rear of the car, and cylinders 2-4-6-8 are situated on the passenger’s side.





