57 Chevy 350 Firing Order – Did you learn that the 5.3 and 5.7 Ls engines have different firing order? This article will help you understand what these numbers mean and how you can change them on your vehicle. If you’re seeking more information, consider checking into our Chevrolet Firing Order Guide. You’ll be taught how to alter your engine’s timing to obtain the maximum amount of horsepower. Here are a few examples of the Chevy 5.3 and 5.7 firing sequences:
What you need to Know about 57 Chevy 350 Firing Order
You should be aware of the 5.3 LS Chevrolet firing order. The 5.3 LS engine is the third generation of the Small Block Series. It is sometimes referred to as Vortec 5300. The Vortec 5300 was operational from 1999 until 2007.
The order of firing for the LS engine is perfect for a variety of reasons. Modifying it won’t give you the optimal performance. Also, doing it incorrectly may cause damage to the pistons or the crankshaft. Therefore, it is always advised to consult an expert mechanic for making such a change. Another reason for incorrect firing sequence is Chevy 5.3 wiring. You should make sure that there are no disconnected connections, since these could cause problems with firing.
Details about 57 Chevy 350 Firing Order
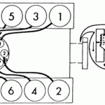
There are numerous reasons to learn about the 5.7 Ls firing order for the Chevy. One of them is the LS1 to LS7 engines’ unique firing order. LS1 in LS7 engines run at 1-8-7-2-6-5-4-3. The BBC firing order is comparable to the one utilized in 5.3L engines, and it is different from the one used in other Chevy models that have smaller-block Chevy engine. It is a sign that when the piston reaches Top Dead Center, the distributor’s rotor should align with the number one spark plug’s connector on the cap of the distributor.
The LS engine was a reworking of the original LS1 which was introduced in 1997. It retained the small-block’s 4.40-inch bore spacing and the Gen I bellhousing bolt pattern however it was a new animal. Because of this shift, GM has decided to alter its firing procedure, and the LS1 has now a 1-8-7-2-6-5-4-3 firing order.
Download 57 Chevy 350 Firing Order
There is a good chance that you have heard about the various firing order options for the 5.3 the ls engine and are wondering how each engine fires in the Chevy. In the Chevy 5.3 engine follows a pattern of firing that is crisscross. The order of firing is crucial in that it decides when to and from where pistons will fire. Incorrect firing order can cause engine malfunctions, and could result in valves opening earlier than normal.
The 5.3 LS Engine was part of the Gen III Small Block series. It was also known under the designation Vortec 5300. It was a powerful engine that ran from 1999 to 2007 in Chevrolet automobiles. The firing order for this engine is the same as other LS engines. For instance, cylinders 1-6-5-7 are in the driver’s wing, while cylinders 2-4-6-8 sit on the passenger’s side.





