350 Chevy Marine Engine Fireing Order – Did you have any idea that 5.3 and 5.7 engine have different firing order? This article will help you understand the meaning of these numbers and how to change them on your vehicle. If you’re in search of more details, you should check the Chevrolet Firing Order Guide. You’ll learn how to properly modify your engine’s timing in order to get the maximum amount of horsepower. Below are some instances of Chevy 5.3 as well as 5.7 firing order:
What you need to Know about 350 Chevy Marine Engine Fireing Order
You must be aware of the 5.3 LS Chevrolet firing order. The 5.3 LS engine is the third generation of the Small Block Series. It’s often referred to as the Vortec 5300. It was in use from 1999 until 2007.
The firing order of the LS engine is optimal due to a variety of reasons. Changing it will not lead to optimal performance. In addition, incorrectly changing it could damage the pistons and the crankshaft. Thus, it is recommended to contact a specialist mechanic before making any changes. Another cause for an incorrect firing process is Chevy 5.3 wiring. You should make sure that there are no loose connections as they could impact the firing order.
Details about 350 Chevy Marine Engine Fireing Order
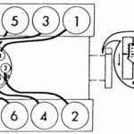
There are many reasons to know the 5.7 Ls firing order for a Chevy. Among them are the LS1 to LS7 engines’ distinct firing order. LS1 from LS7 engines operate at 1-8-7-2-6-5-4-3. The BBC firing sequence is identical to the one that is used in 5.3L engines, and it is different from the one employed on other Chevy automobiles that come with the small-block Chevy engine. It means that when the piston reaches Top Dead Center, the distributor’s distributor rotor is supposed to be aligned with the number one ignition plug’s terminal, which is on the cap for the distributor.
The LS engine was a reworking of the original LS1 which first debuted in 1997. It was built with the small block’s 4.40-inch bore spacing, as well as the Gen I bellhousing bolt pattern however it was a new animal. Because of this shift, GM took the decision to change the firing sequence. LS1 now comes with a 1-8-7-2-6-5-4-3 firing sequence.
Download 350 Chevy Marine Engine Fireing Order
There is a good chance that you have heard about the different firing instructions for the 5.3 engines. engine and are curious about how each of the cylinders fires within the Chevy. This Chevy 5.3 engine follows a criss-cross firing sequence. The order of firing is crucial as it determines the timing to and from where pistons shoot. A wrong firing sequence can lead to engine problems or trigger valves that open prematurely.
The 5.3 LS Engine was part of the Gen III Small Block series. It was also referred to by the name Vortec 5300. It was a formidable powerplant and was in use from 1999 to 2007 in Chevrolet automobiles. The firing pattern for this engine is the same as other LS engines. For example, cylinders 1-5-7 are located on the driver’s side the cylinders 2-4-6-8 can be found on the side of the passenger.





