350 Chevy Firing Order – Did you not know that the 5.3 and 5.7 engines of the LS have different firing sequences? This article will help you understand what these numbers mean and how to adjust them on your vehicle. If you are looking for more details, try checking into our Chevrolet Firing Order Guide. You’ll find out how to adjust the timing on your engine and achieve the most horsepower. Below are some examples of Chevy 5.3 and 5.7 firing order:
What you need to Know about 350 Chevy Firing Order
You should be aware 5.3 LS Chevrolet firing order. The 5.3 LS engine is the third generation of the Small Block Series. It is often referred to as the Vortec 5300. It reigned from 1999 to 2007.
The firing order of the LS engine is the best for many reasons. The change will not yield optimal performance. If you make the wrong change, it could cause damage to pistons or the crankshaft. So, it is recommended to consult with a qualified mechanic before making any changes. Another reason for an incorrect firing order is Chevy 5.3 wiring. It is important to ensure that there aren’t any loose connections since they can influence the firing order.
Details about 350 Chevy Firing Order
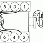
There are many reasons why you should be aware of the 5.7 fire order of LS on the Chevy. For instance, the LS1 to LS7 engines’ distinctive firing order. LS1 towards LS7 engines are fired at 1-8-7-2-6-5-4-3. The BBC firing order is comparable to the one that is used in 5.3L engines, but it is different from the one used in other Chevy automobiles that come with small-block Chevy engine. That means that when the piston reaches Top Dead Center, the distributor’s rotor needs to align with the number one spark plug’s terminal on the cap of the distributor.
Its LS engine represents an upgrade of LS1 which first came into use in 1997. It retained the small block’s 4.40-inch bore spacing, as well as the Gen I bellhousing bolt pattern however, it was a totally brand new engine. Due to this change, GM chose to alter the firing sequence, and the LS1 now has a 1-7-8-7-2-6-5-4-3 firing order.
Download 350 Chevy Firing Order
It is likely that you’ve heard of the different firing instructions for the 5.3 engines. engine and are intrigued by the different firing patterns of each cylinder within a Chevy. For instance, the Chevy 5.3 engine follows a sequential firing pattern that’s criss-cross. The order of firing is crucial and determines when to and from where pistons will go into action. Unintentional firing orders can cause engine problems or cause valves and valves to shut too early.
The 5.3 LS Engine was part of the Gen III Small Block series. It was also known as Vortec 5300. It was a powerhouse and reigned from 1999 to 2007 in Chevrolet vehicles. The firing sequence of this engine is identical to the other LS engines. For instance, cylinders 1-5-7 are located in the driver’s wing, while cylinders 2 – 4-8-8 are located on the side of the passenger.





