350 Chevy Firing Order Hei Distributor Cap – Did you realize that the 5.3 and 5.7 engine have different firing orders? This article will help you understand what these numbers mean and how to modify them on your vehicle. If you’re in search of more details, try checking for our Chevrolet Firing Order Guide. You’ll learn how to properly modify your engine’s timing in order to achieve the most horsepower. Listed below are some examples of Chevy 5.3 as well as 5.7 firing sequences:
What you need to Know about 350 Chevy Firing Order Hei Distributor Cap
It is essential to be aware of the 5.3 LS Chevrolet firing order. This 5.3 LS engine is the third generation of the Small Block Series. It is sometimes referred to as Vortec 5300. It reigned from 1999 to 2007.
The order of firing for the LS engine is optimal due to a variety of reasons. Changes to it won’t result in optimal performance. If you make the wrong change, it will cause damage to the pistons as well as the crankshaft. It is recommended to consult with a qualified mechanic when making a change. Another cause for an incorrect firing instruction is Chevy 5.3 wiring. You should make sure that there are no loose connections , as these could affect the firing procedure.
Details about 350 Chevy Firing Order Hei Distributor Cap
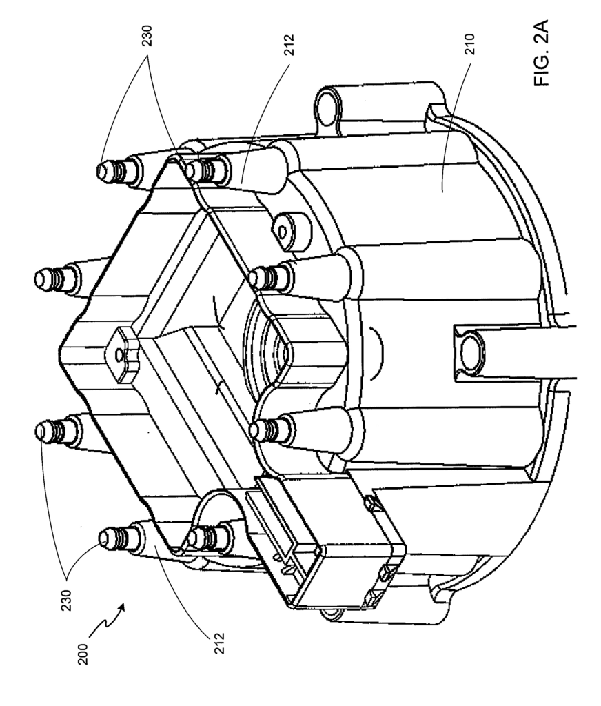
There are a number of reasons to understand the 5.7″ls” firing order on the Chevy. There are many reasons, among them the LS1 to LS7 engines’ unique firing order. LS1 to LS7 engines run at 1-8-7-2-6-5-4-3. The BBC firing order is comparable to the one used in 5.3L engines, but it is different from that used in other Chevy automobiles that come with a small-block Chevy engine. This means that, when the piston reaches Top Dead Center, the distributor’s rotor will align with the number one ignition plug’s terminal, which is on the cap on the distributor.
This LS engine will be an update of original LS1 which first came into use in 1997. It retained the small-block’s 4.40-inch bore spacing and the Gen I bellhousing bolt pattern however, it was a totally modernized beast. This was due to the fact that GM made a decision to alter the firing procedure, and the LS1 now has a 1-8-7-2-6-5-4-3 firing order.
Download 350 Chevy Firing Order Hei Distributor Cap
There is a good chance that you have heard about the different firing orders for the 5.3 engines. engine and are curious about how each engine fires in the Chevy. For instance, the Chevy 5.3 engine follows a circular firing sequence. The order in which the firing occurs is essential and determines when as well as where pistons fire. Improper firing procedures can lead to engine failures or result in valves opening earlier than normal.
The 5.3 LS Engine was part of the Gen III Small Block series. It was also referred to by the name Vortec 5300. It was a superb powerplant and was in use from 1999 to 2007 in Chevrolet vehicles. The firing sequence for this engine is identical to the other LS engines. In this case, cylinders 1-6-7 are located on the side of the driver, while cylinders 2 – 4-8-8 are located on the passenger’s side.





