2012 Chevy Malibu 2.4 Firing Order – If you’re having difficulty learning the Chevy 4.3 firing pattern There’s some really good media! You can actually find specifics with regards to the 4.3 Vortec, 4.3 LS1 or LS7 engine. Listed below, you’ll find techniques to the most typically inquired inquiries with regards to your vehicle’s engine. The best method to begin with would be to talk to the guide. For individuals who don’t, read more about how to set it right here. 2012 Chevy Malibu 2.4 Firing Order.
4.3L Vortec
If you’re suffering from difficulties with the ignition program inside your automobile You might need to know about this 5.3L Vortec firing get. The generator was launched in 1994’s design 12 months, and was revamped to incorporate Vortec heads that increased the mix of air and fuel. Vortec heads are a part of the Vortec firing buy is different for each and every auto product. Specific engines make use of a level-fireplace firing approach nonetheless, other folks tend not to.
The most frequent issue with an generator is the cap around the distributor which is malfunction of the distributor cover. It’s the aspect within the distributor that gives ability to spark plugs in addition to ignition coils. Slow idling, or even poor acceleration, if the distributor is damaged then the car might experience misfires. The best strategy to the issue is swapping the supplier with a new light weight aluminum real estate. A changing of your own supplier can resolve the situation and increase the vehicle’s efficiency.
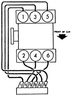
To discover the firing buy for that firing purchase of your own Chevrolet 4.3L Vortec engine, review your distributor’s cover. If it doesn’t have any label and the cylinder number is not visible, it are located beneath an ignition lock. You can use the screwdriver to take out if the lock isn’t identified or marked. Generally speaking, the firing series of motors with several cylinders is 1-2-3-4-2. On the side of the passenger the cylinders are identified astwo and four, and half a dozen.
4.3L LS1
If you’re looking to know the correct firing order for your 4.3L engine, LS1 Chevy engine it is important to understand what the meaning of cylinder numbering is. The cylinder numbering of your Chevy engine is often recognized between #1 and #6 in a clockwise purchase. Consequently the very first tube is found to the left-hands aspect of the engine whenever you appear toward it through the back end. Other cylinders can be found located in the opposing area. The Chevy Firing purchase to the motor is 1-5-4-3-2.
The 4.3L V6 was an advancement in the prior V6 motors. It used a novel mix of fuel and air to create an aura vortex on the inside its combustion holding chamber. The style transform which had been utilized in Vortec 4.3 generator Vortec 4.3 generator provided it an uniqut designation: Vortec. GM offered this engine Vortec. This product was utilized as being the motor of bottom in all of its small pickups and SUV models.
4.3L LS7
There are lots of methods to modify the four.3L Chevy’s firing order It could be astonishing one to understand that it has nothing to be worried about the quantity of energy your generator really is. The firing pattern for more compact prohibit Chevys is different from larger prevent engines, nevertheless the basic principle remains the same. The timing of ignition is among the most essential things to consider when you make alterations in your motor plus a completely wrong firing pattern can influence the efficiency of your respective vehicle substantially.
It is important to know that certain injectors are firing at different time frames than others, although the firing sequence for the firing order for a 4.3L V-6 LS7 engine is easy. As an example, the fuel injector on number 8-10. number 8. The energy injector inside the tube number 6 is represented as injector F. Injectors located on the cylinders 2 along with 3 is going to be not deemed. In this way the injectors for gas which can be firing during the time an engine is jogging with a low rate will blaze initial.
4.3L S10
There’s a typical question becoming requested by Chevy S10 owners of pick-up vehicles What is the correct the right time schedule for an 4.3L engine? It is very important be aware that the 4.3L generator, offered by GM in early 1990s and was distinctive from that 2.8L V6 generator which had been standard in the 1983 S10. The firing sequence was 1-2-3, 4-5-6. Let’s take a peek. This is this might be asked:
The firing pattern from the firing get of a 4.3L S10 Chevy generator is 1-5-7-4-3-2. The distributor cover with the ‘V’ inside the 4.3L generator can determine the firing series. And also the cables of the sparkplugs should cross under and over one particular one other. This may trigger go across firing.’ In these instances the ignition cords might be not from the right series. However, there are some tricks that will help you determine the firing sequence that is in the S10 Chevy engine.
As an illustration the fuel injector within the initially tube is displayed by Injector A. Related is the situation for injectors on cylinders 2 through six. The injectors H and G may be ignored. The tube numbering in the 4.3L S10 Chevy engine is 1-6-5-4-3-2. Therefore, it is important to keep in mind the fuel injectors firing pattern. The firing series from the firing purchase of your 4.3L S10 Chevy generator may be calculated with this graph or chart.





