2007 Chevy Malibu 3.5 Firing Order – If you’ve possibly applied an Chevy 5.3 and have been puzzled by the firing pattern it’s not a problem. This article will deal with the most regularly asked queries, and demonstrate where each and every tube is supposed to be firing. It is possible that you are contemplating whether you should alter the order. Alternatively, if you are able to use the factory setting. In both circumstance, learning the actual firing purchase for your personal 5.3 could help you save from stress. Understand the appropriate strategy to use to work with along with your engine. 2007 Chevy Malibu 3.5 Firing Order.
5.7L engine’s firing get for firing is 1-8-7-2-6-5-4-3
This Chevy 5.7L engine’s fire series starts off with amount 8, which is the driver’s aspect, then movements towards the opposing end using the cylinders with even figures. Once the cylinders are put into these combustion chambers they will rotate in a single cylinder pattern, this is because. The firing sequence is similar to the firing order on the 5.3L engine, but it is different from the firing pattern of the Chevrolet LSX engine.
This is basically the Chevy 5.7L engine’s fireplace series is just like the LS1 counterpart. The ZR-1 was stopped inside of six several years of its manufacturing. In 1997 the LT5 was introduced instead of Corvette users. Chevy Corvette, and also the organization was swift to manufacture it in huge figures. The Five.7L was designed with an aluminum head and block to boost endurance and strength. The 5.7L’s functionality in comparison to it’s Gen I forerunner was drastically enhanced.
When converting heads The LS7 cylinder heads can be used with some other LS engines. The intake slot diameters from the LS7 change from the ones from that of LS3 in addition to LS9 heads. The LS9 mind isn’t able to be positioned on an obstruct that is certainly LS1 or LS2. The LS7 go is unique from LS1 in addition to LS2 obstructs. The LS7 obstruct consists of 12mm bolts to connect your head in the cylinder.
The LS series of motors was made while using lightweight aluminum prevent whilst previously metal disables were made from iron. The latest combination of heads for cylinders possessed the 15-education direction valve perspective and also improved combustion chambers. Along with a contemporary ignition device, the firing routine which is used from the Chevy 5.7L generator is 1-8-7-2-6-5-4-3. The exhaust manifolds have also been improved.
If you’re installing an engine with LS1 or a Gen III engine, you have to update the table to reflect the latest ignition system. Before the engine can be put in place, it is crucial to ensure that the various ignition devices are in sync. For the LS1 in addition to LS3 engine is going to call for interconnection in the induction PCM and banks. The transaction of firing of Gen III engine is Gen III engine is 1-8-7-2-6-5-4-3.
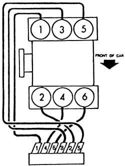
5.3L engine’s firing pattern is 1-8-4-3-6-5-7-2
You’ll need to comprehend the shooting sequence to the GM 5.3L generator to get maximum functionality from using it. It’s different from other Chevy lorriesthat have SBC engines. The firing pattern for the 5.3L Chevy generator is generally 1-8-4-3-6-5-7-2. It is different from other engines that make use of SB along with BB V8s.
The first tube from the 5.3L can be found left from the generator. In the event that the tube lies situated in the middle of the engine then turn around 90° to turn the crankshaft left. This leads to that engine to rev quicker. The following tube on the firing order is situated in middle. This creates more pressure. The last tube is on the best within the engine.
The firing buy of an 5.3L engine is the same to the 350. A Z/28 engine has the same basic structure of a 350, but it is regarded as to be a V8 with slightly more power. Both engines have absorption plug-ins which can be swirled and consumption ports that GM cell phone calls “vortex chambers”. This can lessen airflow and power output. It’s also used to conserve petrol.
This is basically the 5.3L engine’s firing routine can be described as: A single piston is switched off at TDC even though the next the initial one is turned on. This occurs once the strain of your consumption manifold rises. Since this occurs the gas injector is just not productive before the cylinder has achieved TDC. The gas through the tube which is not activated is dragged in the tube and then ignited after which burnt for restoring normal motor operations.
It is the 5.3L engine’s firing pattern is considered the most sophisticated areas of the LS-combination of engines. The gas injectors are switched in a way that the PCM has to understand which injectors are performing and which aren’t. Wrongly-mapped injectors can cause extreme fuel trims as well as stalling. Andin a number of instances the motor could end completely.





