1996 Chevy 350 Firing Order – Did you not know that the 5.3 and 5.7 engines of the LS have different firing order? This article will explain the meaning behind these numbers and how you can change them on your vehicle. If you are looking for more information about this, then you can check through our Chevrolet Firing Order Guide. You’ll learn how to properly alter your engine’s timing to receive the highest amount of horsepower. Below are examples of Chevy 5.3 and 5.7 firing order:
What you need to Know about 1996 Chevy 350 Firing Order
You should be aware of the 5.3 LS Chevrolet firing order. The 5.3 LS engine is the third generation of the Small Block Series. It’s also known as the Vortec 5300. It was in operation from 1999 until 2007.
The firing sequence of the LS engine is the best due to a variety of reasons. Modifying it won’t give you the optimal performance. Furthermore, improperly changing it could damage the pistons and the crankshaft. So, it is advised to consult a professional mechanic before making any changes. Another reason for incorrect firing process is Chevy 5.3 wiring. Make sure there aren’t any loose connections because these can influence the firing order.
Details about 1996 Chevy 350 Firing Order
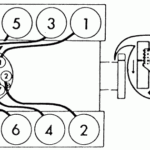
There are many reasons to be aware of the 5.7 ls firing order on the Chevy. There are many reasons, among them the LS1 to LS7 engines’ distinctive firing order. LS1 from LS7 engines run at 1-8-7-2-6-5-4-3. The BBC firing sequence is similar to that used in 5.3L engines, but it differs from the one used on other Chevy vehicles that are equipped with the small-block Chevy engine. This means that once the piston is at Top Dead Center, the distributor’s rotation should be in alignment with the number one spark plug terminal on the cap of the distributor.
Its LS engine evolves from the LS1 which first came into use in 1997. It retained the small block’s 4.40-inch bore spacing as well as the Gen I bellhousing bolt pattern however it was a novel beast. Because of this shift, GM decided to modify the firing process, and the LS1 will now have a 1-8-7-2-6-5-4-3 firing order.
Download 1996 Chevy 350 Firing Order
You’ve probably heard of the various firing commands for the 5.3 engines. engine and you’re curious about the different firing patterns of each cylinder within the Chevy. In the Chevy 5.3 engine follows a circular firing sequence. The order of firing is crucial because it determines when they fire. Unintentional firing orders can result in engine misfires and can even make the valves open earlier than normal.
The 5.3 LS Engine was part of the Gen III Small Block series. It was also known under the designation Vortec 5300. It was a great powerplant that ran from 1999 until 2007 in Chevrolet automobiles. The firing pattern for this engine follows the same pattern as other LS engines. In this case, cylinders 1-6-7 are located on the passenger’s side, while cylinders 2-4-6-8 sit on the side of the passenger.





