1988 Chevy 350 Firing Order – Did you have any idea that 5.3 and 5.7 engine of the LS have differing firing sequences? This article will explain the significance of these numbers as well as how to alter them on your vehicle. If you’re in search of more information, check the Chevrolet Firing Order Guide. You’ll find out how to modify the timing of your engine and achieve the most horsepower. Below are some examples of the Chevy 5.3 as well as 5.7 firing orders:
What you need to Know about 1988 Chevy 350 Firing Order
You should be aware 5.3 LS Chevrolet firing order. This 5.3 LS engine is the third generation of the Small Block Series. It’s sometimes referred to as Vortec 5300. It reigned from 1999 to 2007.
The firing sequence of the LS engine is the best due to a variety of reasons. The change will not result in optimal performance. In addition, incorrectly changing it will cause damage to the pistons as well as the crankshaft. It is recommended to contact a specialist mechanic in order to change it. Another reason for a wrong firing sequence is Chevy 5.3 wiring. You should make sure that there are no unconnected connections since they could interfere with the firing process.
Details about 1988 Chevy 350 Firing Order
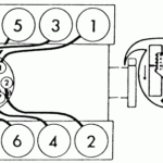
There are many reasons why you should understand the 5.7 fire order of LS on a Chevy. Of them, are the LS1 to LS7 engines’ distinct firing order. LS1 up to LS7 engines operate at 1-8-7-2-6-5-4-3. The BBC firing sequence is identical to that used in 5.3L engines, and it differs from the one utilized on other Chevy vehicles that are equipped with small-block Chevy engine. This means that, when the piston is at Top Dead Center, the distributor’s shaft should be aligned to the number one spark plug’s terminal in the cap on the distributor.
This LS engine will be an update of LS1 which first debuted in 1997. It was able to retain the small-block’s 4.40-inch bore spacing as well as the Gen I bellhousing bolt pattern but was completely modernized beast. This was due to the fact that GM decided to modify the firing sequence. LS1 has now a 1-8-7-2-6-5-4-3 firing order.
Download 1988 Chevy 350 Firing Order
You’ve probably heard about the various firing commands for the 5.3 engines. engine and are curious as to how each engine fires in the Chevy. There is a Chevy 5.3 engine follows a fire sequence that is criss-cross. The order of firing is crucial because it decides when they will start firing. An incorrect firing sequence could result in engine malfunctions, and could make the valves open in a premature manner.
The 5.3 LS Engine was part of the Gen III Small Block series. It was also known under the designation Vortec 5300. It was a tremendous powerplant that ran from 1999 to 2007 in Chevrolet automobiles. The firing sequence for this engine is the same as the other LS engines. In this case, cylinders 1-6-7 are located at the rear of the car, while cylinders 2-4-6-8 reside on the passenger’s side.





