1987 Chevy Silverado 350 Fireing Order – Did you have any idea that 5.3 and 5.7 engine of the LS have differing firing sequences? This article will explain the meaning of these numbers and how to adjust them on your vehicle. If you’re looking for additional information, make sure to check in our Chevrolet Firing Order Guide. You’ll learn how to properly modify the timing of your engine and gain the maximum horsepower. Listed below are some examples of the Chevy 5.3 and 5.7 firing order:
What you need to Know about 1987 Chevy Silverado 350 Fireing Order
The key to understanding the 5.3 LS Chevrolet firing order. This 5.3 LS engine is the third generation of the Small Block Series. It’s sometimes referred to as Vortec 5300. The Vortec 5300 was operational from 1999 until 2007.
The firing sequence of the LS engine is the best due to a variety of reasons. Altering it will not ensure optimal performance. Additionally, changing it incorrectly could result in damage to the pistons, or the crankshaft. It is advised to consult a professional mechanic in order to change it. Another reason for a wrong firing sequence is Chevy 5.3 wiring. Make sure there aren’t any broken connections because they can interfere with the firing process.
Details about 1987 Chevy Silverado 350 Fireing Order
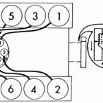
There are a variety of reasons to learn about the 5.7 ls firing order on an Chevy. Some of them are LS1 to LS7 engines’ unique firing order. LS1 up to LS7 engines are fired at 1-8-7-2-6-5-4-3. The BBC firing order is similar to the one that is used in 5.3L engines, and it is different from that used in other Chevy automobiles that come with a small-block Chevy engine. This means that once the piston reaches Top Dead Center, the distributor’s rotor should align with the number one spark plug’s terminal in the cap for the distributor.
The LS engine has evolved over the original LS1 that was first introduced in 1997. It was built with the small block’s 4.40-inch bore spacing, as well as the Gen I bellhousing bolt pattern However, it was a new beast. As a result, GM has decided to alter its firing process, and the LS1 has now a 1-8-7-2-6-5-4-3 firing order.
Download 1987 Chevy Silverado 350 Fireing Order
You have probably heard about the various firing order options for the 5.3 Ls engine You are probably curious about how each of the cylinders fires within the Chevy. The Chevy 5.3 engine follows a cross-fired firing sequence. The order in which the firing occurs is essential because it determines when they will ignite. A wrong firing sequence can cause engine failures or cause the valves to open in a premature manner.
The 5.3 LS Engine was part of the Gen III Small Block series. It was also known for its designation Vortec 5300. It was a powerful engine and reigned from 1999 to 2007 in Chevrolet vehicles. The firing sequence for this engine is identical to the other LS engines. For example, the cylinders 1-6-7 are located on the driver’s side the cylinders 2-4-6-8 can be found on the passenger’s side.





