1986 Chevy 350 Firing Order – Did you have the knowledge that the 5.3 and 5.7 engines of the LS have different firing order? This article will explain the meaning behind these numbers and how you can change them on your vehicle. If you’re in search of more information about this, then you can check through our Chevrolet Firing Order Guide. You’ll learn how to properly modify your engine’s timing in order to ensure you get the maximum horsepower. Below are examples of Chevy 5.3 and 5.7 firing orders:
What you need to Know about 1986 Chevy 350 Firing Order
The key to understanding the 5.3 LS Chevrolet firing order. It is the 5.3 LS engine is the third generation of the Small Block Series. It’s also known as Vortec 5300. It reigned from 1999 to 2007.
The order of firing of the LS engine is optimal for a variety of reasons. Any change to it will not yield optimal performance. Furthermore, if you do it wrong, you could damage the pistons and the crankshaft. So, it is recommended to consult an expert mechanic when making a change. Another reason for a wrong firing orders is Chevy 5.3 wiring. You should make sure that there are no unconnected connections since they could impact the firing order.
Details about 1986 Chevy 350 Firing Order
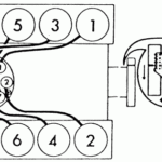
There are several reasons to understand the 5.7 Ls firing order for an Chevy. For instance, the LS1 to LS7 engines’ distinctive firing order. LS1 towards LS7 engines operate at 1-8-7-2-6-5-4-3. The BBC firing order is comparable to the one utilized in 5.3L engines, and it differs from the one used on other Chevy vehicles that are equipped with small-block Chevy engine. It is a sign that when the piston is at Top Dead Center, the distributor’s rotation should be in alignment with the number one spark plug’s terminal on a cap of the distributor.
This LS engine represents an upgrade of original LS1 that first came out in 1997. The small-block engine was retained with its 4.40-inch bore spacing as well as the Gen I bellhousing bolt pattern but was completely modernized beast. This was due to the fact that GM changed the firing order, and the LS1 now comes with a 1-8-7-2-6-5-4-3 firing order.
Download 1986 Chevy 350 Firing Order
You’ve probably heard about the different firing orders for the 5.3 LS engine and are intrigued by how each cylinder fires in the Chevy. This Chevy 5.3 engine follows a series of firings that are criss-crossed. The order in which the firing occurs is essential because it determines when and in which direction the pistons will go into action. Improper firing procedures can cause engine problems and even cause valves from opening in a premature manner.
The 5.3 LS Engine was part of the Gen III Small Block series. It was also referred to under the designation Vortec 5300. It was a powerhouse and was used from 1999 to 2007 in Chevrolet automobiles. The firing sequence for this engine follows the same pattern as other LS engines. For instance, cylinders 1-5-7 are located on the driver’s side, while cylinders 2-4-8-8 are on the passenger’s side.





