1980 Chevy 350 Hei Distributor Firing Order – Did you learn that the 5.3 and 5.7 Ls engines have distinct firing orders? This article will help you understand the meaning of these numbers and how to modify them on your vehicle. If you’re in search of more information, check on our Chevrolet Firing Order Guide. You’ll learn how to properly change your engine’s timing and get the maximum amount of horsepower. Below are several examples of the Chevy 5.3 as well as 5.7 firing orders:
What you need to Know about 1980 Chevy 350 Hei Distributor Firing Order
You must be aware of the 5.3 LS Chevrolet firing order. This 5.3 LS engine is the third generation of the Small Block Series. It is sometimes referred to as Vortec 5300. It was in power from 1999 until 2007.
The firing sequence of the LS engine is perfect due to a variety of reasons. The change will not give you the optimal performance. Furthermore, if you do it wrong, you could cause damage to the pistons or the crankshaft. So, it is recommended that you consult a skilled mechanic in order to change it. Another reason that could cause a misfiring ordering is Chevy 5.3 wiring. Make sure there are no loose connections since they can affect the firing order.
Details about 1980 Chevy 350 Hei Distributor Firing Order
There are many reasons why you should be aware of the 5.7 ls firing order on an Chevy. Some of them are LS1 to LS7 engines’ distinct firing order. LS1 to LS7 engines are fired at 1-8-7-2-6-5-4-3. The BBC firing order is comparable to the one used in 5.3L engines, but it differs from the one used on other Chevy vehicles with small-block Chevy engine. This means that, when the piston reaches Top Dead Center, the distributor’s distributor rotor is supposed to be aligned with the number one spark plug’s terminal on the distributor cap.
The LS engine can be described as an improvement of the original LS1 which was introduced in 1997. The small-block engine was retained with its 4.40-inch bore spacing as well as the Gen I bellhousing bolt pattern but was completely novel beast. This was due to the fact that GM has decided to alter its firing sequence, and the LS1 now has a 1-7-8-7-2-6-5-4-3 firing order.
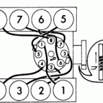
Download 1980 Chevy 350 Hei Distributor Firing Order
It is likely that you’ve heard of the various firing patterns for the 5.3 Ls engine and are curious about how each engine fires in the Chevy. What happens in the Chevy 5.3 engine follows a pattern of firing that is crisscross. The order of firing is important since it determines the time or where the pistons start firing. A wrong firing sequence can result in engine problems or trigger valves that open earlier than normal.
The 5.3 LS Engine was part of the Gen III Small Block series. It was also known as Vortec 5300. It was a formidable powerplant that was in operation from 1999 until 2007 in Chevrolet vehicles. The firing sequence of this engine has the same firing order as other LS engines. For instance, cylinders 1-6-5-7 are in the driver’s wing, while cylinders 2-4-6-8 sit on the passenger’s side.





