1976 Chevy 350 Firing Order – Did you not know that the 5.3 and 5.7 ls engines have different firing order? This article will help you understand the meaning behind these numbers and the best way to alter them in your vehicle. If you are looking for more details, try checking in our Chevrolet Firing Order Guide. Learn how to modify your engine’s timing in order to obtain the maximum amount of horsepower. Here are some examples of the Chevy 5.3 and 5.7 firing sequences:
What you need to Know about 1976 Chevy 350 Firing Order
You should be aware 5.3 LS Chevrolet firing order. It is the 5.3 LS engine is the third generation of the Small Block Series. It is often referred to as the Vortec 5300. It was in use from 1999 until 2007.
The order of firing for the LS engine is the best for many reasons. Modifying it won’t provide the best performance. Additionally, changing it incorrectly will cause damage to the pistons as well as the crankshaft. So, it is recommended to consult an expert mechanic for making such a change. Another factor that can cause an error in firing process is Chevy 5.3 wiring. You should make sure that there aren’t any loose connections since they can impact the firing order.
Details about 1976 Chevy 350 Firing Order
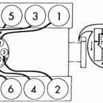
There are numerous reasons to know the 5.7″ls” firing order on an Chevy. Included in them is LS1 to LS7 engines’ distinct firing order. LS1 until LS7 engines run at 1-8-7-2-6-5-4-3. The BBC firing order is comparable to the one used on 5.3L engines, and it differs from the one used on other Chevy vehicles that are equipped with smaller-block Chevy engine. This means that once the piston reaches Top Dead Center, the distributor’s shaft should be aligned to the number one spark plug’s terminal on the cap of the distributor.
Its LS engine can be described as an improvement of the LS1 which first debuted in 1997. It was built with the small block’s 4.40-inch bore spacing, as well as the Gen I bellhousing bolt pattern but was a new creature. In light of this, GM has decided to alter its firing sequence. LS1 now has a 1-7-8-7-2-6-5-4-3 firing order.
Download 1976 Chevy 350 Firing Order
You’ve probably heard of the various firing order options for the 5.3 ls engine and are curious about how each cylinder fires in the Chevy. For instance, the Chevy 5.3 engine follows a fire sequence that is criss-cross. The order of firing is crucial since it determines the time they be fired. Incorrect firing order can result in engine issues and cause valves to open in a premature manner.
The 5.3 LS Engine was part of the Gen III Small Block series. It was also known in the form of Vortec 5300. It was a formidable powerplant that ran from 1999 until 2007 in Chevrolet automobiles. The firing order for this engine is similar to the other LS engines. For instance, cylinders 1-6-5-7 are located in the driver’s wing, while cylinders 2 – 4-8-8 are located on the passenger’s side.





