1975 Chevy 350 Firing Order – Did you not know that the 5.3 and 5.7 ls engines have different firing sequences? This article will help you understand the meaning of these numbers and how to adjust them on your vehicle. If you’re in search of additional information, make sure to check through our Chevrolet Firing Order Guide. You’ll be taught how to alter your engine’s timing to receive the highest amount of horsepower. Below are examples of Chevy 5.3 as well as 5.7 firing order:
What you need to Know about 1975 Chevy 350 Firing Order
You must be aware of the 5.3 LS Chevrolet firing order. It is the 5.3 LS engine is the third generation of the Small Block Series. It is often referred to as the Vortec 5300. It was in power from 1999 until 2007.
The firing order of the LS engine is perfect for many reasons. It is not a good idea to alter it, as it can produce optimal performance. If you make the wrong change, it could damage the pistons and the crankshaft. It is recommended to consult with a qualified mechanic when making a change. Another reason for a wrong firing order is Chevy 5.3 wiring. You should make sure that there are no loose connections , as these could impact the firing order.
Details about 1975 Chevy 350 Firing Order
There are numerous reasons to understand the 5.7 fire order of LS on an Chevy. For instance, the LS1 to LS7 engines’ distinct firing order. LS1 up to LS7 engines run at 1-8-7-2-6-5-4-3. The BBC firing sequence is identical to the one that is used in 5.3L engines, and it is different from that used in other Chevy vehicles that are equipped with smaller-block Chevy engine. It is a sign that when the piston is at Top Dead Center, the distributor’s shaft should be aligned to the number one spark plug’s terminal in the cap for the distributor.
Its LS engine is an evolution of the original LS1 which first debuted in 1997. It was able to retain the small-block’s 4.40-inch bore spacing and the Gen I bellhousing bolt pattern however it was an entirely brand new engine. As a result of this development, GM was able to change the firing process, and the LS1 has now been given a 1-8-7-2-6-5-4-3 firing order.
Download 1975 Chevy 350 Firing Order
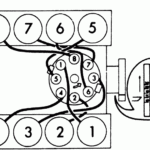
You have probably heard about the various firing patterns for the 5.3 the ls engine and you’re curious about how each of the cylinders fires within the Chevy. For instance, the Chevy 5.3 engine follows a sequential firing pattern that’s criss-cross. The order in which the firing occurs is essential as it determines the timing you and the location where your pistons shoot. A wrong firing sequence can result in engine misfires and can even trigger valves that open too early.
The 5.3 LS Engine was part of the Gen III Small Block series. It was also known under the designation Vortec 5300. It was an excellent powerplant and was operational from 1999 to 2007 in Chevrolet vehicles. The firing order for this engine is the same as the other LS engines. For example, cylinders 1-6-5-7 are located on the right side of the vehicle, and cylinders 2-4-6-8 are situated on the passenger’s side.





