1973 Chevy 350 Firing Order – Did you not know that the 5.3 and 5.7 engine have different firing order? This article will explain the meaning behind these numbers and how to adjust them on your vehicle. If you are looking for more details, try checking in our Chevrolet Firing Order Guide. It will help you modify your engine’s timing in order to obtain the maximum amount of horsepower. Below are examples of the Chevy 5.3 as well as 5.7 firing orders:
What you need to Know about 1973 Chevy 350 Firing Order
The key to understanding the 5.3 LS Chevrolet firing order. It is the 5.3 LS engine is the third generation of the Small Block Series. It is often referred to as the Vortec 5300. It was in power from 1999 until 2007.
The order of firing for the LS engine is ideal for many reasons. Making changes to it will not produce optimal performance. In addition, incorrectly changing it will damage the pistons as well as the crankshaft. Therefore, it is always recommended that you consult a skilled mechanic to perform the procedure. Another reason for a wrong firing procedure is Chevy 5.3 wiring. It is important to ensure that there aren’t any unconnected connections since they could alter the firing sequence.
Details about 1973 Chevy 350 Firing Order
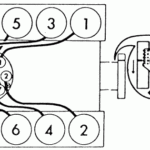
There are a number of reasons to be aware of the 5.7″LS” firing order that is found on a Chevy. There are many reasons, among them the LS1 to LS7 engines’ distinct firing order. LS1 towards LS7 engines run at 1-8-7-2-6-5-4-3. The BBC firing order is similar with the firing order used in 5.3L engines, but it differs from the one employed on other Chevy vehicles with a small-block Chevy engine. That means that when the piston reaches Top Dead Center, the distributor’s rotor should align with the number one spark plug’s terminal in the cap of the distributor.
This LS engine evolved from the original LS1 which first debuted in 1997. It was built with the small block’s 4.40-inch bore spacing as well as the Gen I bellhousing bolt pattern however it was an entirely different animal. In light of this, GM changed the firing sequence. LS1 will now have a 1-8-7-2-6-5-4-3 firing order.
Download 1973 Chevy 350 Firing Order
There is a good chance that you have heard about the various firing commands for the 5.3 ls engine and you’re curious about the firing sequence of each cylinder in a Chevy. What happens in the Chevy 5.3 engine follows a sequential firing pattern that’s criss-cross. The firing order is vital and determines when and in which direction the pistons fire. Incorrect firing order can lead to engine problems or cause valves and valves to shut too early.
The 5.3 LS Engine was part of the Gen III Small Block series. It was also referred to as Vortec 5300. It was a powerhouse and was used from 1999 to 2007 in Chevrolet automobiles. The firing order of this engine is the same as the other LS engines. In this case, cylinders 1-6-7 are located on the side of the driver, while cylinders 2-4-6-8 reside on the passenger’s side.





