1972 Chevy 350 Firing Order – Did you learn that the 5.3 and 5.7 Ls engines have different firing order? This article will explain the meaning of these numbers and the best way to alter them in your vehicle. If you’re in search of further information, be sure to check on our Chevrolet Firing Order Guide. You’ll find out how to modify your engine’s timing in order to get the maximum amount of horsepower. Below are several examples of Chevy 5.3 as well as 5.7 firing order:
What you need to Know about 1972 Chevy 350 Firing Order
It is important to know the 5.3 LS Chevrolet firing order. The 5.3 LS engine is the third generation of the Small Block Series. It is also known as the Vortec 5300. It was in power from 1999 until 2007.
The order of firing of the LS engine is the best due to a variety of reasons. Modifying it won’t result in optimal performance. Furthermore, if you do it wrong, you will damage the pistons as well as the crankshaft. Thus, it is advised to consult a professional mechanic to carry out the modification. Another reason for an incorrect firing or firing order could be Chevy 5.3 wiring. It is important to ensure that there aren’t any loose connections since they can interfere with the firing process.
Details about 1972 Chevy 350 Firing Order
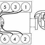
There are a variety of reasons to learn about the 5.7″LS” firing pattern on an Chevy. Some of them are LS1 to LS7 engines’ distinctive firing order. LS1 from LS7 engines are fired at 1-8-7-2-6-5-4-3. The BBC firing sequence is similar with the firing order used in 5.3L engines, and it differs from the one used on other Chevy vehicles that feature small-block Chevy engine. It is a sign that when the piston is at Top Dead Center, the distributor’s distributor rotor is supposed to be aligned with the number one spark plug’s terminal that is located on the distributor cap.
The LS engine is an evolution of the original LS1 that first appeared in 1997. It was able to retain the small-block’s 4.40-inch bore spacing and the Gen I bellhousing bolt pattern However, it was a new machine. This was due to the fact that GM decided to modify the firing order. As a result, the LS1 now comes with a 1-8-7-2-6-5-4-3 firing sequence.
Download 1972 Chevy 350 Firing Order
You have probably heard about the different firing protocols for the 5.3 LS engine and are wondering how each of the cylinders fires within a Chevy. It is believed that the Chevy 5.3 engine follows a criss-cross firing sequence. The firing order is vital because it decides when and in which direction the pistons will begin to fire. Incorrect firing can result in engine problems and even make the valves open prematurely.
The 5.3 LS Engine was part of the Gen III Small Block series. It was also referred to for its designation Vortec 5300. It was an excellent powerplant that ran from 1999 to 2007 in Chevrolet automobiles. The firing pattern for this engine has the same firing order as other LS engines. In this case, cylinders 1-6-7 are on the driver’s side, and cylinders 2-4-6-8 are situated on the passenger’s side.





