1970 Chevy C10 350 Firing Order – Did you have the knowledge that the 5.3 and 5.7 engines of the LS have different firing sequences? This article will explain the meaning behind these numbers and the best way to alter them in your vehicle. If you’re seeking more information about this, then you can check for our Chevrolet Firing Order Guide. Learn how you can modify the timing of your engine and receive the highest amount of horsepower. Below are some instances of Chevy 5.3 as well as 5.7 firing sequences:
What you need to Know about 1970 Chevy C10 350 Firing Order
You should know the 5.3 LS Chevrolet firing order. This 5.3 LS engine is the third generation of the Small Block Series. It’s also known as Vortec 5300. It reigned from 1999 to 2007.
The order of firing for the LS engine is optimal for many reasons. Altering it will not produce optimal performance. In addition, making the change incorrectly could cause damage to pistons or the crankshaft. It is recommended to consult an expert mechanic to perform the procedure. Another reason for incorrect firing orders is Chevy 5.3 wiring. It is important to ensure that there are no loose connections as this could cause problems with firing.
Details about 1970 Chevy C10 350 Firing Order
There are a variety of reasons to know the 5.7 the firing order for LS on the Chevy. Among them are the LS1 to LS7 engines’ unique firing order. LS1 up to LS7 engines are fired at 1-8-7-2-6-5-4-3. The BBC firing sequence is identical to that of 5.3L engines, but it is different from that employed on other Chevy vehicles that feature small-block Chevy engine. It is a sign that when the piston is at Top Dead Center, the distributor’s rotating rotor must be aligned with the number one spark plug’s terminal on a distributor cap.
This LS engine represents an upgrade of original LS1 that first appeared in 1997. It was built with the small block’s 4.40-inch bore spacing and the Gen I bellhousing bolt pattern but was a new beast. Due to this change, GM chose to alter the firing sequence. LS1 has now been given a 1-8-7-2-6-5-4-3 firing sequence.
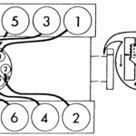
Download 1970 Chevy C10 350 Firing Order
You’ve probably heard of the various firing sequences for the 5.3 ls engine and are wondering the way each cylinder operates in the Chevy. It is believed that the Chevy 5.3 engine follows a fire sequence that is criss-cross. The order of firing is crucial since it determines the time it is the right time and place that pistons will shoot. The wrong firing order could result in engine issues and result in valves opening in a premature manner.
The 5.3 LS Engine was part of the Gen III Small Block series. It was also referred to under the designation Vortec 5300. It was a powerful engine and was operational from 1999 to 2007 in Chevrolet vehicles. The firing sequence for this engine is identical to the other LS engines. For instance, cylinders 1-5-7 are at the rear of the car, while cylinders 2 – 4-8-8 are located on the side of the passenger.





