1970 Chevy 350 Firing Order – Did you not know that the 5.3 and 5.7 engine have different firing sequences? This article will explain the significance of these numbers as well as the best way to alter them in your vehicle. If you’re in search of additional information, make sure to check for our Chevrolet Firing Order Guide. Learn how you can alter the timing of your engine in order to obtain the maximum amount of horsepower. Below are a few examples of Chevy 5.3 as well as 5.7 firing sequences:
What you need to Know about 1970 Chevy 350 Firing Order
You should know the 5.3 LS Chevrolet firing order. This 5.3 LS engine is the third generation of the Small Block Series. It is also known as Vortec 5300. It reigned from 1999 to 2007.
The firing order of the LS engine is perfect due to a variety of reasons. Making changes to it will not provide the best performance. In addition, incorrectly changing it will damage the pistons as well as the crankshaft. Thus, it is advised to consult a professional mechanic before making any changes. Another reason that could cause a misfiring order is Chevy 5.3 wiring. You should make sure that there aren’t any disconnected connections, since these could cause problems with firing.
Details about 1970 Chevy 350 Firing Order
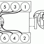
There are several reasons to be aware of the 5.7 fire order of LS on the Chevy. Included in them is LS1 to LS7 engines’ unique firing order. LS1 up to LS7 engines run at 1-8-7-2-6-5-4-3. The BBC firing sequence is identical to the one utilized in 5.3L engines, and it is different from that used on other Chevy vehicles that are equipped with smaller-block Chevy engine. That means that when the piston reaches Top Dead Center, the distributor’s rotation should be in alignment with the number one ignition plug’s terminal, which is on the distributor cap.
This LS engine was a reworking of the LS1 which was introduced in 1997. It retained the small block’s 4.40-inch bore spacing and the Gen I bellhousing bolt pattern and was, however, a completely brand new engine. Because of this evolution, GM took the decision to change the firing procedure, and the LS1 will now have a 1-8-7-2-6-5-4-3 firing order.
Download 1970 Chevy 350 Firing Order
You’ve probably heard of the different firing options for the 5.3 engine. engine and are wondering the different firing patterns of each cylinder within a Chevy. In the Chevy 5.3 engine follows a criss-cross firing sequence. The order in which the firing occurs is essential since it determines the time as well as where pistons be fired. The wrong firing order could cause engine problems and even trigger valves that open in a premature manner.
The 5.3 LS Engine was part of the Gen III Small Block series. It was also referred to for its designation Vortec 5300. It was a fantastic powerplant and was used from 1999 to 2007 in Chevrolet automobiles. The firing order for this engine is similar to that of other LS engines. For example, the cylinders 1-6-7 are on the driver’s side, while cylinders 2 – 4-8-8 are located on the passenger’s side.





