1967 Chevy 350 Firing Order – Did you learn that the 5.3 and 5.7 engine of the LS have differing firing order? This article will explain the significance of these numbers as well as how you can change them on your vehicle. If you’re seeking further information, be sure to check for our Chevrolet Firing Order Guide. It will help you alter the timing of your engine to attain the highest level of horsepower. Below are several examples of the Chevy 5.3 as well as 5.7 firing orders:
What you need to Know about 1967 Chevy 350 Firing Order
It is essential to be aware of the 5.3 LS Chevrolet firing order. This 5.3 LS engine is the third generation of the Small Block Series. It is sometimes referred to as Vortec 5300. It reigned from 1999 to 2007.
The order of firing of the LS engine is optimal due to a variety of reasons. It is not a good idea to alter it, as it can yield optimal performance. If you make the wrong change, it will cause damage to the pistons as well as the crankshaft. It is recommended to contact a specialist mechanic to carry out the modification. Another cause for an incorrect firing sequence is Chevy 5.3 wiring. It is important to ensure that there aren’t any loose connections , as these could affect the firing procedure.
Details about 1967 Chevy 350 Firing Order
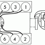
There are many reasons to know the 5.7″LS” firing pattern on a Chevy. Of them, are the LS1 to LS7 engines’ distinctive firing order. LS1 and LS7 engines operate at 1-8-7-2-6-5-4-3. The BBC firing order is similar as the one used by 5.3L engines, and it differs from the one employed on other Chevy vehicles that are equipped with a small-block Chevy engine. This means that when the piston reaches Top Dead Center, the distributor’s distributor rotor is supposed to be aligned with the number one spark plug’s terminal that is located on the cap on the distributor.
The LS engine represents an upgrade of original LS1 which was introduced in 1997. The small-block engine was retained with its 4.40-inch bore spacing, as well as the Gen I bellhousing bolt pattern, but was a completely modernized beast. This was due to the fact that GM decided to modify the firing order. The LS1 is now firing with a 1-8-7-2-6-5-4-3 firing sequence.
Download 1967 Chevy 350 Firing Order
It is likely that you’ve heard of the various firing commands for the 5.3 the ls engine and are intrigued by how each of the cylinders fires within the Chevy. There is a Chevy 5.3 engine follows a chain-cross firing procedure. The firing order is vital and determines when they will begin to fire. Unintentional firing orders can result in engine malfunctions, and could cause valves and valves to shut too early.
The 5.3 LS Engine was part of the Gen III Small Block series. It was also referred to in the form of Vortec 5300. It was a fantastic powerplant and reigned from 1999 to 2007 in Chevrolet vehicles. The firing order for this engine follows the same pattern as other LS engines. In this case, cylinders 1-6-7 are located on the left side of the driver’s seat, while cylinders 2-4-6-8 sit on the passenger’s side.





